Запчасти Case CX350D LC (10.500.AD[02]) - DEF/ADBLUE™ LINES - BSN NFS7P1154 (10) - ENGINE

Схема запчастей Case CX350D LC - (10.500.AD[02]) - DEF/ADBLUE™ LINES - BSN NFS7P1154 (10) - ENGINE
10.500.ao (01)
3
9
4
15
1
11
5
9
12
3
8
7
13
6
14
10
2
10.500.ad (03)
10.500.ad (03)
10.500.ad (01)
10.500.ad (01)
10.500.ao (02)
FIT
1:1
100%

Артикул

Название

Примечание

Количество

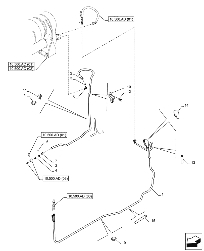
1

KSH14810

PIPE

1шт.

2

KHH17780

HOSE

11mm ID x 2650mm

1шт.

3

KHH16800

BAND

2шт.

4

KRR21150

NIPPLE

1шт.

5

KHH15490

ELBOW

1шт.

6

167320A1

BOLT,Spcl, M8 x 20mm

2шт.

7

162149A1

COLLAR

2шт.

8

KHR15180

TUBE

19mm ID x 2600mm

1шт.

9

150496A1

MOUNTING CLIP

1шт.

10

KHR2581

CLAMP

1шт.

11

KHR10220

MOUNTING CLIP

1шт.

12

KHJ1215

BOLT,Spcl

1шт.

13

KHH17030

INSULATION

1шт.

14

KHH17010

INSULATION

1шт.

15

KHH17970

INSULATION

3шт.

Выбрано товаров: 15