Запчасти Case CX350D LC (35.106.AD[06]) - VAR - 461863 - VARIABLE DELIVERY HYDRAULIC PUMP, CLAMSHELL BUCKET, ROTATION, W/ ELECTRICAL PROPORTIONAL CONTROL, COMPONENTS (35) - HYDRAULIC SYSTEMS

Схема запчастей Case CX350D LC - (35.106.AD[06]) - VAR - 461863 - VARIABLE DELIVERY HYDRAULIC PUMP, CLAMSHELL BUCKET, ROTATION, W/ ELECTRICAL PROPORTIONAL CONTROL, COMPONENTS (35) - HYDRAULIC SYSTEMS
23
36
21
5
36
29
33
27
31
18
25
24
33
14
17
30
9
10
20
32
26
8
2
35.106.an
11
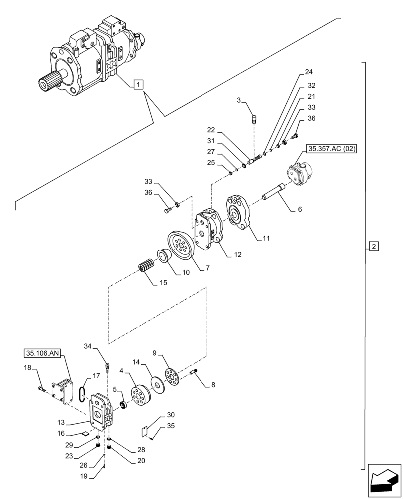
1
15
3
22
4
13
34
35.357.ac (02)
28
16
7
12
6
19
35
FIT
1:1
100%

Артикул

Название

Примечание

Количество

1

KSJ18301

HYDRAULIC PUMP

ASSY, Incl 2 - 36

1шт.

See also Figure 35.106.AD (05), 35.106.AD (07), 35.106.AD (08), 35.106.AL (02), 35.357.AC (02), 35.106.AN

1шт.

2

LJ022320

HYDRAULIC PUMP

ASSY, Incl 3 - 36

1шт.

See also Figure 35.106.AD (07)

1шт.

3

LA012700

SPECIAL PIN

2шт.

4

LJ017460

SLEEVE CYLINDER

1шт.

5

LB00646

NEEDLE BEARING

2шт.

6

LB00928

DRIVE SHAFT

1шт.

7

LR00058

PLATE

2шт.

8

LJ017440

SET OF PARTS

2шт.

9

156530A1

TRAY

2шт.

10

LB00647

BUSHING

2шт.

11

LS004030

SUPPORT

1шт.

12

LW005110

HOUSING

2шт.

13

TJ00152

BLOCK

1шт.

14

LR017690

PLATE

2шт.

15

LG00062

SPRING

18шт.

16

LW007240

COVER

1шт.

17

LE015130

O-RING

1шт.

18

862-12030

HEX SOC SCREW,M12 x 30mm, Cl 12.9

4шт.

19

LA017890

BOLT

3шт.

20

LK00028

PLUG

12шт.

21

LG00061

STOP

2шт.

22

LJ017470

PISTON

2шт.

23

155496A1

PLUG

2шт.

24

LE015120

O-RING

1шт.

25

LG00060

STOP

2шт.

26

LE022170

SEAL

16шт.

27

LE00050

BACK-UP RING

2шт.

28

LE015150

O-RING

2шт.

29

LE013410

O-RING

9шт.

30

NSS

NOT SOLD SEPARAT

Nameplate, Incl in 2

1шт.

31

LE01075

O-RING

2шт.

32

LE00052

BACK-UP RING

2шт.

33

LA016780

NUT

4шт.

34

LA017910

EYEBOLT

2шт.

35

LA00027

RIVET

2шт.

36

LA00103

SET SCREW,Hex

2шт.

Выбрано товаров: 38