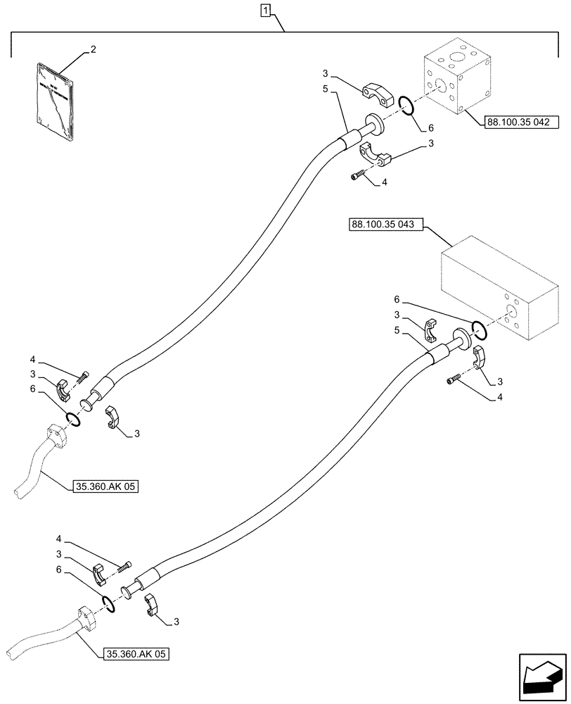
Запчасти Case CX500D LC (88.100.35[041]) - DIA KIT, HAMMER CIRCUIT, HIGH FLOW, W/ ELECTRICAL PROPORTIONAL CONTROL, BOOM, LINE (88) - ACCESSORIES

Схема запчастей Case CX500D LC - (88.100.35[041]) - DIA KIT, HAMMER CIRCUIT, HIGH FLOW, W/ ELECTRICAL PROPORTIONAL CONTROL, BOOM, LINE (88) - ACCESSORIES
3
2
4
3
3
4
4
6
3
6
3
5
6
35.360.ak 05
1
3
88.100.35 043
3
6
5
4
88.100.35 042
35.360.ak 05
3
FIT
1:1
100%

Артикул

Название

Примечание

Количество

1

KG0TP655-00

CONSTRUCTION DIA

Multi-Purpose with 3 Way Valve Proportional, Incl 2 - 6

1шт.

To See Full DIA KIT Composition Look for all the Figures Where the DIA KIT P/N Is Shown

1шт.

2

47960357

INSTRUCTION

1шт.

3

150124A1

FLANGE

8шт.

4

108R014Y045R

BOLT,Hex Skt, M14 x 45mm, Cl 12.9

16шт.

5

KTJ12390

HYDRAULIC HOSE

32mm ID x 1850mm, To Stop Valve

2шт.

6

164450A1

O-RING

4шт.

Выбрано товаров: 7