Запчасти Case CX750D RTC ME (35.360.060) - VAR - 461863 - SAFETY VALVE, CLAMSHELL BUCKET, ROTATION, W/ ELECTRICAL PROPORTIONAL CONTROL (35) - HYDRAULIC SYSTEMS

Схема запчастей Case CX750D RTC ME - (35.360.060) - VAR - 461863 - SAFETY VALVE, CLAMSHELL BUCKET, ROTATION, W/ ELECTRICAL PROPORTIONAL CONTROL (35) - HYDRAULIC SYSTEMS
20
23
13
18
19
4
17
14
5
22
27
27
3
23
12
26
9
6
15
24
8
7
16
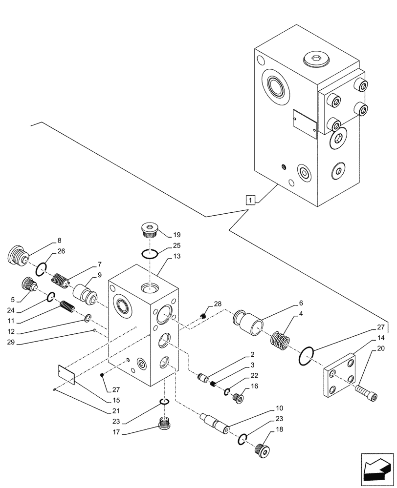
1
11
2
21
25
29
10
28
FIT
1:1
100%

Артикул

Название

Примечание

Количество

1

KHJ1473

VALVE

ASSY, Incl 2 - 29

1шт.

2

LPC0291

VALVE POPPET

1шт.

3

LSC0282

SPRING

1шт.

4

165763A1

SPRING

1шт.

5

155514A1

PLUG

1шт.

6

168946A1

PLUNGER

1шт.

7

165007A1

SPRING

1шт.

8

155509A1

PLUG

1шт.

9

LPC0292

VALVE POPPET

1шт.

10

NSS

NOT SOLD SEPARAT

Spool, Incl in 1

1шт.

11

LG00317

SPRING

1шт.

12

LA00689

WASHER

1шт.

13

NSS

NOT SOLD SEPARAT

Body, Incl in 1

1шт.

14

LW00309

COVER

1шт.

15

NSS

NOT SOLD SEPARAT

Nameplate, Incl in 1

1шт.

16

155510A1

PLUG

1шт.

17

160083A1

PLUG

1шт.

18

155515A1

PLUG

1шт.

19

163874A1

PLUG

1шт.

20

863-10025

HEX SOC SCREW,M10 x 25mm, Cl 12.9

4шт.

21

168229A1

RIVET

2шт.

22

154455A1

O-RING

1шт.

23

154467A1

O-RING,10.8mm ID x 2.4mm Width

1шт.

24

154475A1

O-RING

2шт.

25

154487A1

O-RING

1шт.

26

154523A1

O-RING

1шт.

27

154529A1

O-RING

1шт.

28

LLC0064

PLUG

2шт.

29

NSS

NOT SOLD SEPARAT

Expander, Incl in 1

4шт.

Выбрано товаров: 29