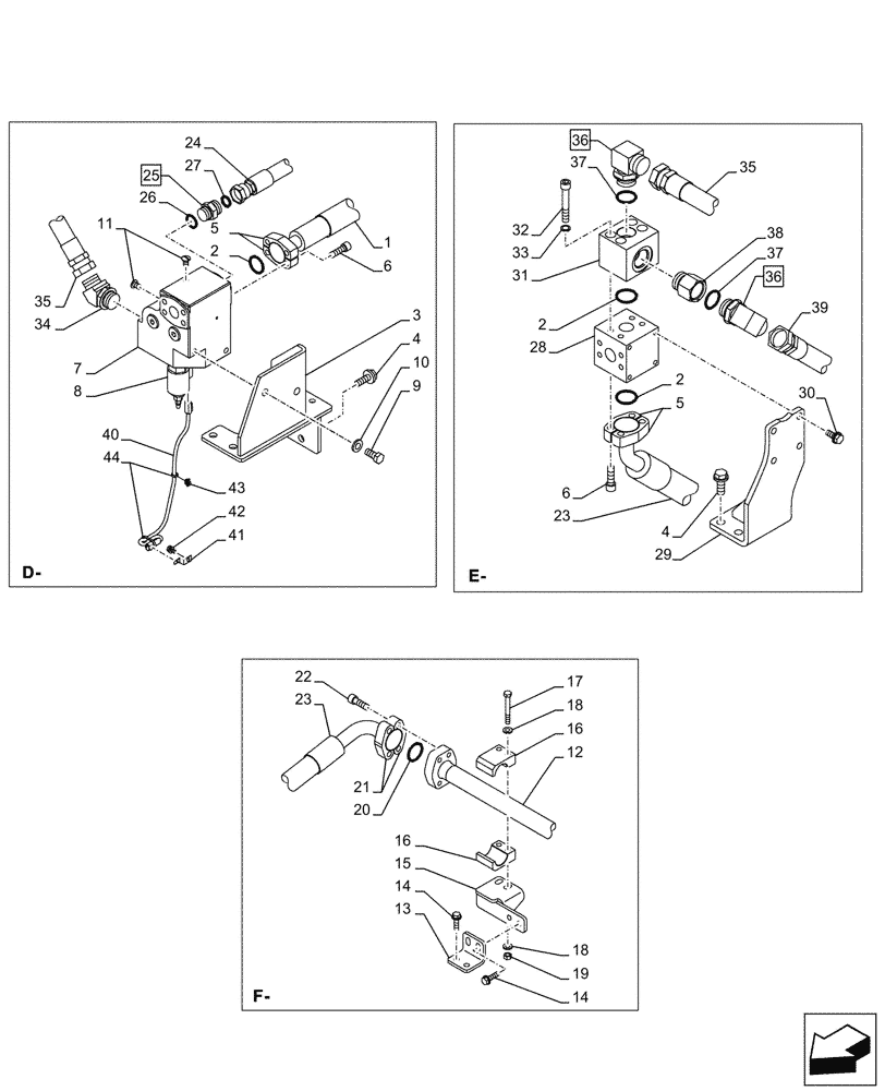
Запчасти Case CX750D RTC ME (35.360.330) - VAR - 461869 - HAMMER CIRCUIT, LINES, HIGH FLOW, W/ ELECTRICAL PROPORTIONAL CONTROL (35) - HYDRAULIC SYSTEMS

Схема запчастей Case CX750D RTC ME - (35.360.330) - VAR - 461869 - HAMMER CIRCUIT, LINES, HIGH FLOW, W/ ELECTRICAL PROPORTIONAL CONTROL (35) - HYDRAULIC SYSTEMS
4
8
20
6
37
2
7
26
17
24
12
3
22
33
36
14
2
38
35
35
29
4
42
2
43
5
15
1
19
23
16
41
14
39
11
44
37
28
40
16
30
18
21
27
36
10
5
9
32
25
6
34
18
13
31
23
FIT
1:1
100%

Артикул

Название

Примечание

Количество

1

KWJ13340

HYDRAULIC HOSE

From Main Control Valve to Relief Valve

1шт.

2

153626A1

O-RING

3шт.

3

KWJ13590

BRACKET

1шт.

4

166348A1

BOLT

8шт.

5

150124A1

FLANGE

4шт.

6

108R014Y045R

BOLT,Hex Skt, M14 x 45mm, Cl 12.9

8шт.

7

KHJ33380

VALVE

ASSY, Incl 8

1шт.

8

KHJ33400

VALVE

1шт.

9

627-16035

BOLT,Hex, M16 x 2 x 35mm, Cl 10.9, Full Thd

2шт.

10

150814A1

WASHER,17mm ID x 32mm OD x 4.5mm Thk

2шт.

11

KHR29210

SCREW

2шт.

12

KWJ13360

PIPE

1шт.

13

KWJ13370

BRACKET

1шт.

14

105R012Y045R

BOLT

4шт.

15

KWJ13381

BRACKET

1шт.

16

KWJ10510

CLAMP

2шт.

17

102R012Y095R

BOLT

2шт.

18

150811A1

WASHER

4шт.

19

162R012VR

NUT

2шт.

20

162484A1

O-RING

1шт.

21

KTJ0169

FLANGE

2шт.

22

862-16050

HEX SOC SCREW,M16 x 50mm, Cl 12.9

4шт.

23

KWJ13350

HYDRAULIC HOSE

From Main Control Valve to Manifold

1шт.

24

KWJ13390

HYDRAULIC HOSE

From Main Control Valve to Manifold

1шт.

25

KHJ1349

ADAPTER

ASSY, Incl 26

1шт.

26

152211A1

O-RING

1шт.

27

KHJ1361

O-RING,0.07" Thk x 0.926" ID

1шт.

28

KHJ17380

VALVE

1шт.

29

KWJ13970

BRACKET

1шт.

30

166352A1

BOLT

4шт.

31

162667A1

MANIFOLD

1шт.

32

862-14090

HEX SOC SCREW,M14 x 90mm, Cl 12.9

4шт.

33

184-014VR

SPRING WASHER

4шт.

34

157588A1

ELBOW

1шт.

35

KWJ13400

HYDRAULIC HOSE

From Manifold Valve to Relief Valve

1шт.

36

157582A1

ELBOW,90 Degree, 1 1/4" O-Ring x 1 1/4"

ASSY, Incl 37

2шт.

37

150583A1

O-RING

2шт.

38

KHJ33440

ADAPTER

1шт.

39

KWJ13410

HYDRAULIC HOSE

From Main Control Valve to Manifold

1шт.

40

KHR41540

WIRE HARNESS

1шт.

41

158962A1

CLIP

1шт.

42

167518A1

BOLT

1шт.

43

KHR10220

MOUNTING CLIP

1шт.

44

150496A1

MOUNTING CLIP

2шт.

Выбрано товаров: 44