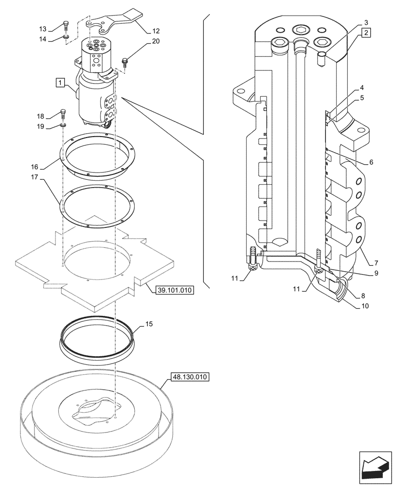
Запчасти Case CX750D RTC ME (35.354.010) - HYDRAULIC SWIVEL (35) - HYDRAULIC SYSTEMS

Схема запчастей Case CX750D RTC ME - (35.354.010) - HYDRAULIC SWIVEL (35) - HYDRAULIC SYSTEMS
39.101.010
11
15
1
10
12
16
8
18
17
9
19
7
5
13
14
3
4
2
20
11
6
48.130.010
FIT
1:1
100%

Артикул

Название

Примечание

Количество

1

KUA0387

JOINT TURNING

ASSY, Incl 2 - 11

1шт.

2

KUA0385

SHAFT

ASSY, Incl 3

1шт.

3

KHJ1274

PLUG

4шт.

4

KUA0095

SHAFT SEAL

1шт.

5

161082A1

O-RING

1шт.

6

KUA0096

PACKAGE, RINGS

7шт.

7

KUA0386

ROTOR

1шт.

8

CBP0326

O-RING

1шт.

9

KUA0093

WASHER, THRUST

1шт.

10

KUA0094

COVER

1шт.

11

862-10030

HEX SOC SCREW,M10 x 30mm, Cl 12.9

10шт.

12

KUA0163

LOCKING DEVICE

1шт.

13

627-16040

BOLT,Hex, M16 x 2 x 40mm, Cl 10.9, Full Thd

3шт.

14

150814A1

WASHER,17mm ID x 32mm OD x 4.5mm Thk

3шт.

15

KUA0098

SEALING RING

1шт.

16

KUA11240

RETAINER

1шт.

17

KUA0100

PACKING

1шт.

18

627-12025

BOLT,Hex, M12 x 1.75 x 25mm, Cl 10.9, Full Thd

6шт.

19

161498A1

SEALING WASHER

6шт.

20

105R012Y045R

BOLT

4шт.

Выбрано товаров: 20