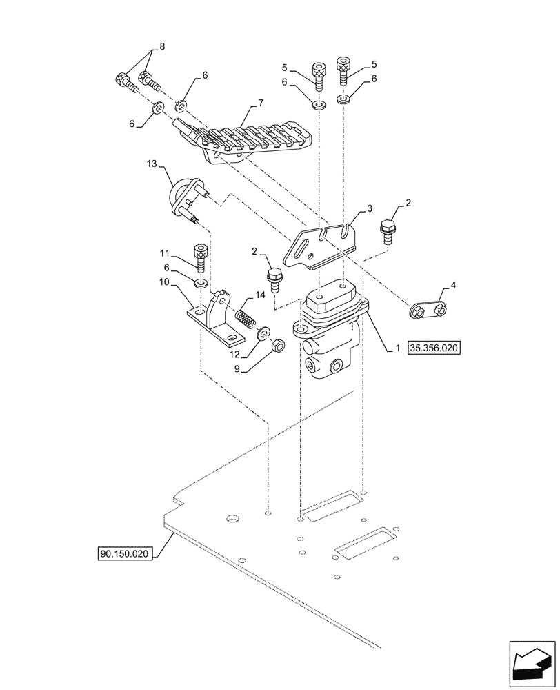
Запчасти Case CX750D RTC ME (35.356.010) - STD + VAR 461561, 461563 - PEDAL, REMOTE CONTROL VALVE, HAMMER CIRCUIT (35) - HYDRAULIC SYSTEMS

Схема запчастей Case CX750D RTC ME - (35.356.010) - STD + VAR 461561, 461563 - PEDAL, REMOTE CONTROL VALVE, HAMMER CIRCUIT (35) - HYDRAULIC SYSTEMS
35.356.020
6
10
2
6
6
2
12
5
8
6
6
13
9
7
14
1
11
5
3
4
90.150.020
FIT
1:1
100%

Артикул

Название

Примечание

Количество

1

KHJ24720

CONTROL BLOCK

ASSY

1шт.

2

166052A1

BOLT

2шт.

3

KHJ24740B1

SUPPORT

1шт.

4

KHJ24780

BRACKET, SUPPORTING

1шт.

5

165404A1

BOLT,Hex Skt, M10 x 20mm

2шт.

6

150604A1

WASHER

2шт.

7

KHJ13850

PEDAL

1шт.

8

KHJ24800

BOLT

2шт.

9

157740A1

NUT

1шт.

10

KHJ10711

SUPPORT

1шт.

11

108R010Y016R

BOLT

2шт.

12

159500A1

WASHER

1шт.

13

KHJ10701

ARRESTER

1шт.

14

KHJ10721

SPRING

1шт.

Выбрано товаров: 14