Качественные детали и логистика
Оригинальные и аналоговые запчасти с доставкой по России, Казахстану и Беларуси
©2022 PartSell ООО "Система" ИНН 2463123282 ОГРН 1212400004838
Центральный офис: г. Красноярск, Академика Киренского, д.87, пом.4
Телефон: 8 (800) 777-65-74 Email: zakaz@partsell.ru
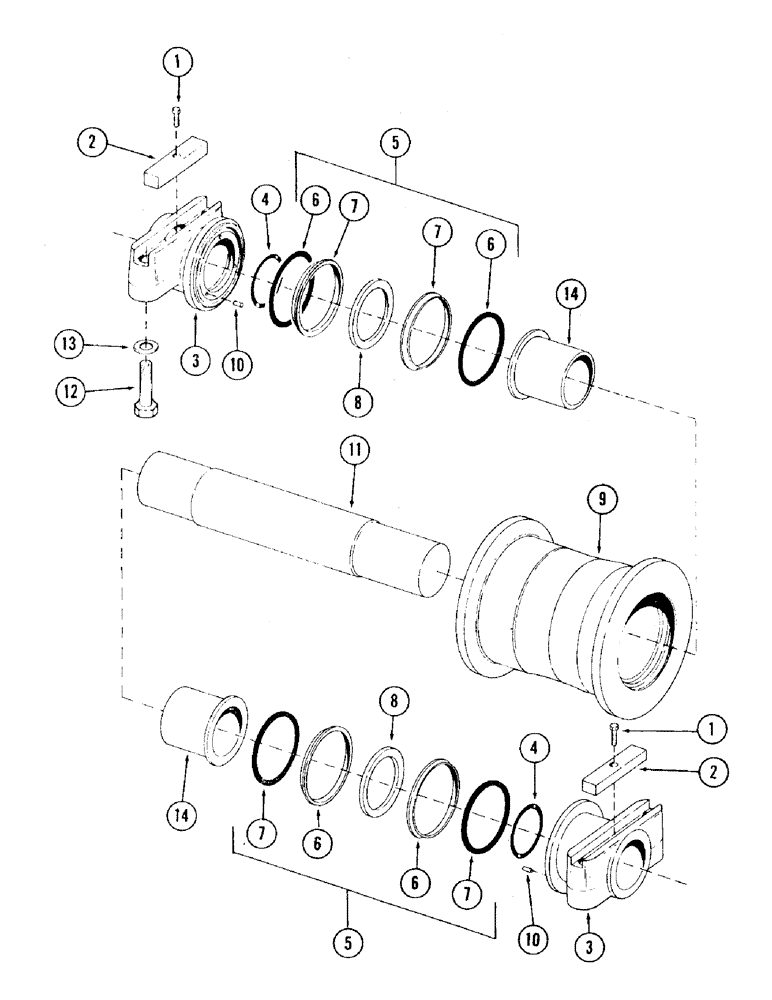
(019) - LOWER TRACK ROLLER
№
Артикул
Название
Примечание
Количество
S507683
ROLLER, track - (Lower)
16шт.
1
S65938
CPSW
2шт.
2
S66051
LOCK
3
S65937
COLLAR
4
S65936
GASKET
5
S65925
KIT, seal
6
NSS
NOT SOLD SEPARAT
SEAL
4шт.
7
S65926
"O" RING
8
S65927
RING
9
S65291
SHELL
roller
1шт.
10
S65928
PIN
6шт.
11
S65292
SHAFT
12
S15789
BOLT
CPSW, 7/8" NC x 4" gr 8 - (Mounts roller to track frame)
13
S92341
WASHER
flat - 7/8" - (Hardened steel)
14
S65293
BUSHING
Выбрано товаров: 0