Запчасти Case 120 (023) - TRACK DRIVE TRANSMISSION (48) - TRACKS & TRACK SUSPENSION

Схема запчастей Case 120 - (023) - TRACK DRIVE TRANSMISSION (48) - TRACKS & TRACK SUSPENSION
FIT
1:1
100%

Артикул

Название

Примечание

Количество

S507498

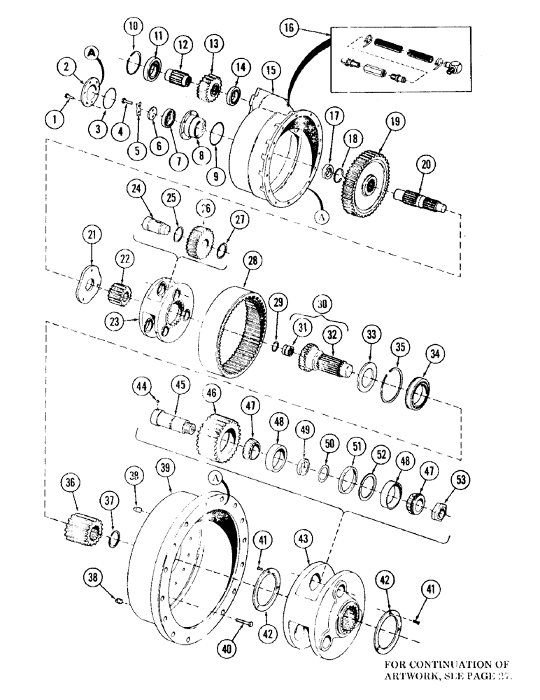
TRANSMISSION, track drive - (Includes items 1 thru 82 listed on Figures 23 thru 27)

2шт.

1

S98283

CPSW, reduction shaft bearing cover

6шт.

2

S98306

COVER, reduction shaft bearing

1шт.

3

S6330

O-RING,0.139" Thk x 3.734" ID, -240, Cl 5, 75 Duro

"O" RING, reduction shaft bearing cage - 3.734" ID x 4.000" OD

1шт.

4

S98277

CPSW, first reduction shaft - 7/16" x 1" gr 8

2шт.

5

D52314

PLATE

LOCK, first reduction shaft

1шт.

6

D46738

WASHER, first reduction shaft bearing retainer

1шт.

7

S98288

BEARING, first reduction shaft

1шт.

8

S98305

CAGE, reduction shaft bearing

1шт.

9

S98281

"O" RING, reducer, Serial Range: case-cage

1шт.

10

S98297

RING, snap - input pinion front bearing retainer

1шт.

11

S98289

BEARING, input pinion

1шт.

12

S61996

SHAFT, input pinion

1шт.

13

S62011

GEAR, input pinion drive - (24 tooth)

1шт.

14

S61963

BEARING, input pinion inner

1шт.

15

S62004

CASE, first reduction

1шт.

16

S16211

BREATHER, first reduction case

1шт.

S17705

COUPLING

breather to straight hose end - 1/8" NPT female x 1/8" NPT female

1шт.

S103994

END

hose - (Straight) - 3/8" hose ID x 1/8" NPT male

1шт.

S73386

FASTENER

TIE, hose

2шт.

S29181

HOSE

low pressure - (Bulk) - one piece - 3/8" ID x 24" long

1шт.

S103995

END

hose - (90 degrees) - 3/8" hose ID x 1/8" NPT male

1шт.

17

S98296

SPACER, first reduction shaft

1шт.

18

F9756

RING, snap - intermediate driven gear

1шт.

19

S62031

GEAR, intermediate driven - (72 tooth)

1шт.

20

S98311

SHAFT, first reduction

1шт.

21

S98304

PLATE, planetary spider thrust

1шт.

22

S98312

GEAR

planetary sun - (15 tooth)

1шт.

23

S62032

GEAR-SET

SPIDER, planetary - first reduction

1шт.

24

S98310

SHAFT, planetary pinion first reduction

3шт.

25

S98293

WASHER

thrust - planetary pinion inner

3шт.

26

S62007

PINION

planetary - first reduction - (24 tooth)

3шт.

27

S98294

WASHER

thrust - planetary pinion outer

3шт.

28

S62008

GEAR, planetary ring - (63 tooth)

1шт.

29

S61982

RING, snap - second reduction shaft

1шт.

30

S500502

SHAFT ASSY.

SECOND REDUCTION SHAFT ASSEMBLY

1шт.

31

S98272

BEARING

1шт.

32

NSS

NOT SOLD SEPARAT

SHAFT, second reduction

1шт.

33

S61956

SPACER, second reduction shaft bearing

1шт.

34

S61948

BEARING, second reduciton shaft

1шт.

35

NSS

NOT SOLD SEPARAT

RING, snap

1шт.

36

S62009

GEAR, planetary sun - second reduction - (15 tooth)

1шт.

37

S61962

RING, snap - second reduction shaft outer

1шт.

38

S61913

PLUG, oil filler and drain

2шт.

39

S62003

CASE, second reduction

1шт.

40

S61944

CPSW, first reduction case to second reduction case

15шт.

41

S61937

SCREW

CPSW, wear, Serial Range: plate-spider

6шт.

42

S61954

WASHER, thrust - second reduction planetary spider

2шт.

43

S10139

SPIDER, planetary - second reduction

1шт.

44

S61984

BALL, planetary pinion shaft lock

3шт.

45

S62002

SHAFT, planetary pinion second reduction

3шт.

46

S62006

PINION, planetary - second reduction

3шт.

47

S61939

BEARING

CONE, planetary pinion bearing

6шт.

48

S61938

CUP

planetary pinion bearing

6шт.

49

S61979

SPACER, planetary pinion shaft bearing

3шт.

50

S61987

SHIM, planetary pinion shaft bearing - (.010")

6шт.

S61988

SHIM, planetary pinion shaft bearing - (.005")

9шт.

S61989

SHIM, planetary pinion shaft bearing - (.003")

9шт.

51

S61980

SPACER, planetary pinion shaft bearing

3шт.

52

S61981

RING, snap - planetary pinion bearing retainer

3шт.

53

S61949

NUT, planetary pinion shaft

3шт.

Выбрано товаров: 0