Запчасти Case 120 (083) - WINDSHIELD WIPER AND ATTACHING PARTS (55) - ELECTRICAL SYSTEMS

Схема запчастей Case 120 - (083) - WINDSHIELD WIPER AND ATTACHING PARTS (55) - ELECTRICAL SYSTEMS
FIT
1:1
100%

Артикул

Название

Примечание

Количество

S605308

KIT

24 volt wiper

1шт.

1

S61880

LIGHT ASSY.

LIGHT, dome - (Not illustrated)

1шт.

2

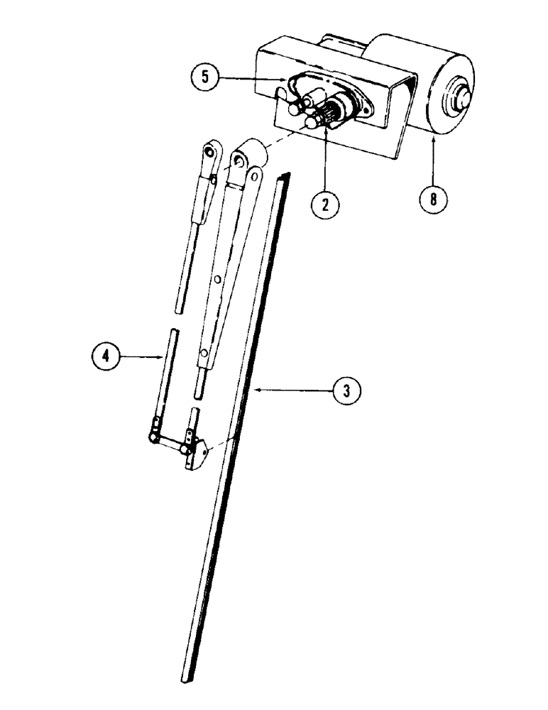
S225151

SHAFT

pivot

1шт.

3

S225152

BLADE

wiper - 22" long

1шт.

4

L35260

ARM

wiper - 20" long

1шт.

5

S61798

KIT

adapter - (Includes gaskets)

1шт.

S61799

SCREW

machine

1шт.

6

S61797

ARM

drive - (Not illustrated)

1шт.

7

S96776

SWITCH

wiper - (Not illustrated)

1шт.

8

S61879

MOTOR, modified wiper

1шт.

9

S61873

PLUG

- (Not illustrated)

1шт.

10

S61874

CLIP

CUP, spring - (Not illustrated)

1шт.

11

S61875

WASHER

spring - (Not illustrated)

1шт.

12

S61876

LINK

LINE, connecting - (Not illustrated)

1шт.

Выбрано товаров: 14