Запчасти Case 120 (279) - INSTRUMENT PANEL JUMPER WIRES (55) - ELECTRICAL SYSTEMS

Схема запчастей Case 120 - (279) - INSTRUMENT PANEL JUMPER WIRES (55) - ELECTRICAL SYSTEMS
FIT
1:1
100%

Артикул

Название

Примечание

Количество

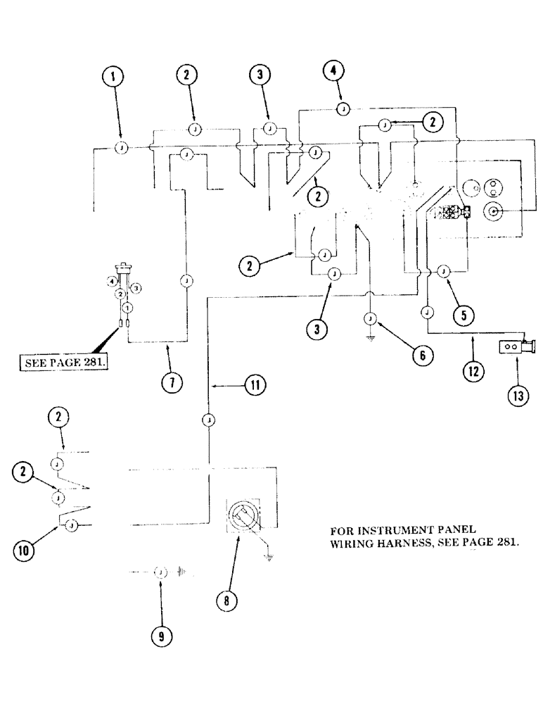
1

S224618

WIRE, jumper - 14 gauge wire x 16" long

1шт.

2

S28875

ELECTRICAL WIRE

WIRE, jumper - 12 gauge wire x 8" long

6шт.

3

S206233

ELECTRICAL WIRE

WIRE, jumper - 14 gauge wire x 5" long

3шт.

4

S220549

ELECTRICAL WIRE

WIRE, jumper - 12 gauge wire x 18" long

1шт.

5

S224612

ELECTRICAL WIRE

WIRE, jumper - 12 gauge wire x 5" long

1шт.

6

S224613

WIRE, jumper - 10 gauge wire x 10" long - (Used as ground wire)

1шт.

7

S223901

WIRE, jumper - 12 gauge wire x 30" long

1шт.

8

S213391M1

HOURMETER

- (Furnished with wires)

1шт.

S70973

TERMINAL CONNECTOR

CONNECTOR, eye - (Attached to, Serial Range: wire-fuse)

2шт.

S85106

FLANGE

DAMPER

1шт.

S14523

SCREW, machine - No. 4 NC x 3/4"

3шт.

S2128

LOCK WASHER

WASHER, lock - No. 6

3шт.

S17259

NUT

- No. 4 NC

3шт.

9

S206378

ELECTRICAL WIRE

WIRE, jumper - 14 gauge wire x 4" long - (Used as ground wire)

1шт.

10

S208230

WIRE, jumper - 12 gauge x 4" long

1шт.

11

S213791

WIRE, jumper - 14 gauge x 32" long

1шт.

12

S234073

WIRE, jumper

1шт.

13

REF

INSTRUCTION

VALVE, anti-drift solenoid - (For breakdown, see Figure 265)

1шт.

Выбрано товаров: 18