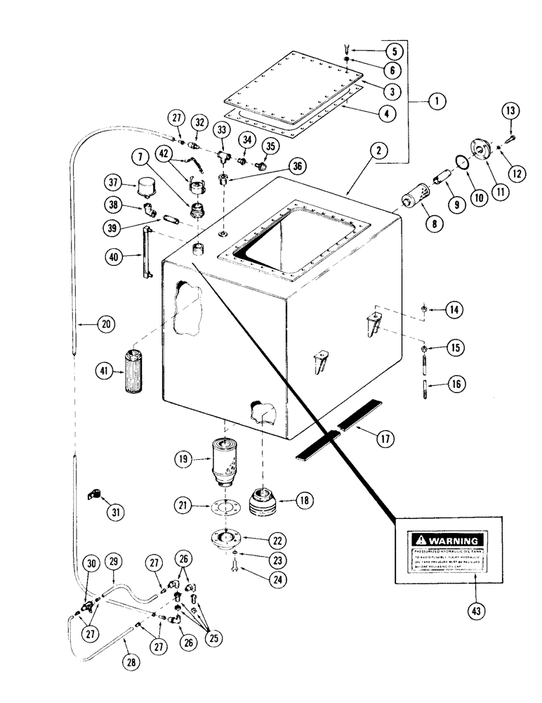
Запчасти Case 120 (221) - HYDRAULIC OIL RESERVOIR AND ATTACHING PARTS (35) - HYDRAULIC SYSTEMS

Схема запчастей Case 120 - (221) - HYDRAULIC OIL RESERVOIR AND ATTACHING PARTS (35) - HYDRAULIC SYSTEMS
FIT
1:1
100%

Артикул

Название

Примечание

Количество

1

S611571

RESERVOIR ASSEMBLY

1шт.

2

S611575

RESERVOIR

1шт.

3

S611574

COVER

1шт.

4

S611573

GASKET

1шт.

5

S2385

BOLT

CPSW - 5/16" NC x 1/2" gr 5

30шт.

6

S4396

WASHER, LOCK

- 5/16"

30шт.

7

S111973

ADAPTER

1шт.

8

S220566

FILTER

screen

1шт.

9

S15354

NIPPLE - 1-1/2" NPT x 6" long

1шт.

10

S6334

O-RING,0.139" Thk x 4.234" ID, -244, Cl 5, 75 Duro

"O" RING - 4.234" ID x 4.500" OD

1шт.

11

S200926

FLANGE, filter mounting

1шт.

12

S103366

WASHER

oil seal

4шт.

13

S16475

CAPSCREW

CPSW - 5/16" NC x 1" gr 8

4шт.

14

S17169

INSTRUCTION

NUT, self locking - 1/2" NC

4шт.

15

86632558

JAM NUT,Jam, 1/2"-13, G5

NUT - 1/2" NC

4шт.

16

S97960

STUD

4шт.

17

S96839

PAD, rubber

2шт.

18

S233296

STRAINER, diffuser

2шт.

19

S223495

FILTER, screen

2шт.

20

S85503

TUBE,37.5" OD

nylon - (Bulk) - 3/8" OD tube x 144" long

1шт.

21

S223743

GASKET

2шт.

22

S233278

FLANGE, filter mounting

2шт.

23

S4396

WASHER, LOCK

WASHER - 5/16"

4шт.

24

S2377

SCREW

CPSW - 5/16" NC x 1-1/4" gr 5

4шт.

25

S85542

COUPLING, bulkhead - 1/4" NPT female x 1-1/2" long

2шт.

26

S85490

ELBOW

90 degrees - (3/8" tube) - 9/16" - 18 male x 1/4" NPT male

3шт.

S85919

NUT

- (3/8" tube) - 9/16" - 18 female

3шт.

S85915

SLEEVE

- (For 3/8" tube)

3шт.

27

S85495

SLEEVE

INSERT, brass

6шт.

28

S85503

TUBE,37.5" OD

nylon - (Bulk) - 3/8" OD x 30"

1шт.

29

S85503

TUBE,37.5" OD

nylon - (Bulk) - 3/8" OD x 20"

1шт.

30

S230778

VALVE - (In cab)

1шт.

31

S84479

CLAMP

tube

1шт.

32

S85484

CONNECTOR, ELEC

CONNECTOR - (3/8" tube) - 9/16" - 18 male x 1/4" NPT male

1шт.

S96908

NUT - (3/8" tube) - 9/16" - 18 female

1шт.

S96911

SLEEVE

- (For 3/8" tube)

1шт.

33

S62673

TEE

- 1/4" NPT female x 1/4" NPT female x 1/4" NPT female

1шт.

34

S17550

PLUG

BUSHING, reducer - 1/4" NPT x 1/8" NPT female

1шт.

35

S98937

SWITCH, pressure

1шт.

36

S17753

BUSHING, reducer - 3/4" NPT x 1/4" NPT female

1шт.

37

S97964

VALVE, relief - (Only replaceable items of relief valve are filter and filter seal listed below)

1шт.

S64013

FILTER

1шт.

A7623

O-RING,0.139" Thk x 0.984" ID, -214, Cl 5, 75 Duro

SEAL, filter

1шт.

38

S60915

ELBOW

90 degrees - 3/4" NPT female x 3/4" NPT female

1шт.

39

S62658

NIPPLE, LUBE

NIPPLE - 3/4" NPT male

1шт.

40

S97881

GAUGE, oil level

1шт.

41

S107379

FILTER, ENGINE OIL

STRAINER, filler

1шт.

42

S234977

CAP, hydraulic reservoir

1шт.

S108021

CHAIN - 4" long

1шт.

S98658

HOOK

2шт.

43

S234981

DECAL

1шт.

Выбрано товаров: 51