Запчасти Case 120 (057) - TURNTABLE GUARD PLATES (39) - FRAMES AND BALLASTING

Схема запчастей Case 120 - (057) - TURNTABLE GUARD PLATES (39) - FRAMES AND BALLASTING
FIT
1:1
100%

Артикул

Название

Примечание

Количество

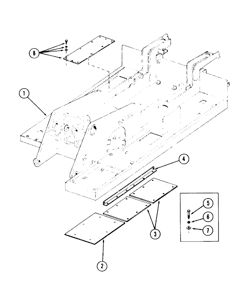
1

REF

INSTRUCTION

TURNTABLE - (For turntable and attaching parts, see Figure 53)

1шт.

2

S225287

SPARE PART

1шт.

3

S225289

SPARE PART

2шт.

4

S225291

SPARE PART (Mounts item, Serial Range: 3-turntable)

1шт.

5

S2466

BOLT

CPSW - 1/2" NC x 1-1/4" gr 5

20шт.

6

S4399

WASHER

Lock - 1/2"

20шт.

7

S95569

WASHER

Flat - 1/2"

20шт.

8

S228389

COVER

1шт.

S2403

BOLT

CPSW - 3/8" NC x 1-1/2" gr 5

10шт.

S4397

WASHER

Lock - 3/8"

10шт.

S94625

WASHER

Flat - 3/8"

10шт.

Выбрано товаров: 0