Запчасти Case 120 (109) - CENTER SWIVEL AND ATTACHING PARTS (39) - FRAMES AND BALLASTING

Схема запчастей Case 120 - (109) - CENTER SWIVEL AND ATTACHING PARTS (39) - FRAMES AND BALLASTING
FIT
1:1
100%

Артикул

Название

Примечание

Количество

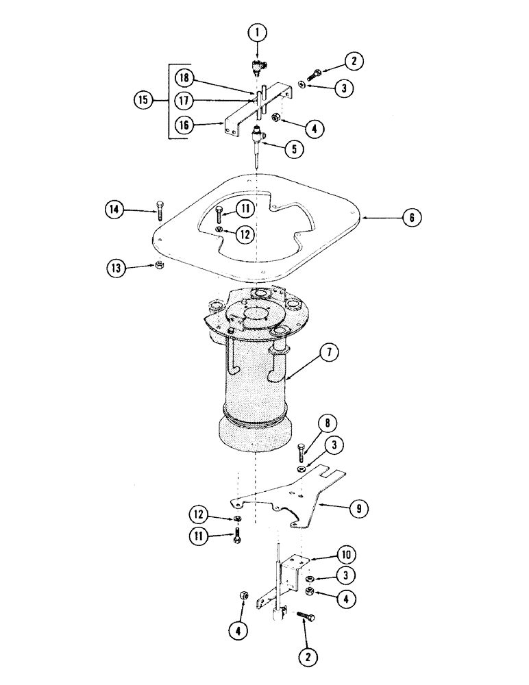
1

REF

INSTRUCTION

SWIVEL, hydraulic service - (For breakdown, see Figure 241)

1шт.

2

S2402

BOLT

CPSW - 3/8" NC x 1-1/4" gr 5

6шт.

3

S94625

WASHER

flat - 13/32"

8шт.

4

S17167

INSTRUCTION

NUT, self locking - 3/8" NC

8шт.

5

S223570

SWIVEL, inner

1шт.

6

S605336

PLATE, swivel mounting

1шт.

7

REF

INSTRUCTION

SWIVEL, 5-port hydraulic - (For breakdown, see Figure 239)

1шт.

8

S2403

BOLT

CPSW - 3/8" NC x 1-1/2" gr 5

2шт.

9

S507796

PLATE, swivel mounting

1шт.

10

S507795

BRACKET

inner swivel holding

1шт.

11

S2466

BOLT

CPSW, - 1/2" NC x 1-1/4" gr 5

6шт.

12

S4399

WASHER

lock - 1/2"

6шт.

13

S17169

INSTRUCTION

NUT, self locking - 1/2" NC

4шт.

14

S2474

BOLT (MACHINE)

CPSW - 1/2" NC x 3-1/4" gr 5

4шт.

15

S223568

CHANNEL

inner swivel guide

1шт.

16

S507797

CHANNEL

1шт.

17

S71802

NYLON BEARING,0.756" ID x 1.187" OD x 0.375"

BEARING, nylon

1шт.

18

S5467

PIN, ROLL

- 21/64" ID x 4" long

2шт.

Выбрано товаров: 0