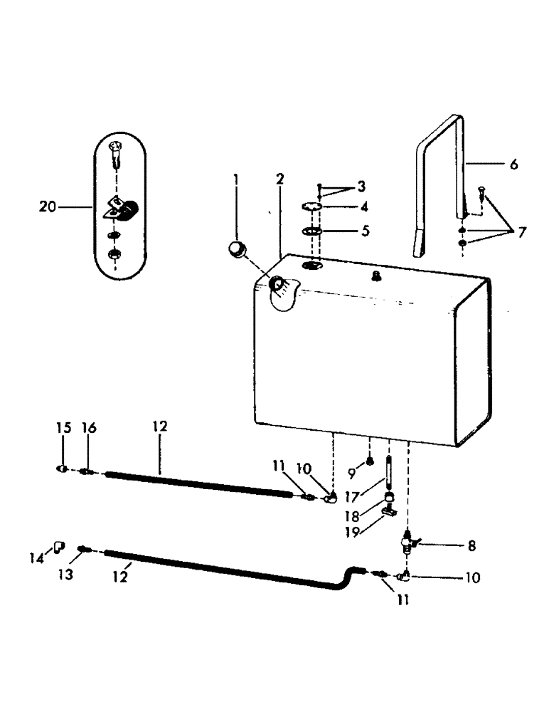
Запчасти Case 30YC (C19) - FUEL TANK AND LINES FOR: IHC UC 263 GASOLINE ENGINE, IHC UD 282 AND GMC 3-53 DIESEL ENGINES (01) - ENGINE

Схема запчастей Case 30YC - (C19) - FUEL TANK AND LINES FOR: IHC UC 263 GASOLINE ENGINE, IHC UD 282 AND GMC 3-53 DIESEL ENGINES (01) - ENGINE
FIT
1:1
100%

Артикул

Название

Примечание

Количество

1

CAP - fuel tank - (Purchased locally)

1шт.

2

37739

TANK - fuel

1шт.

3

14530

HARNESS

CPSW - #10-32 x 3/4" long

5шт.

4

63590

COVER - fuel gauge

1шт.

5

49745

CONNECTING LINK

GASKET - fuel gauge

1шт.

6

80328

SPARE PART

STRAP - fuel tank - 14 gauge steel strip 1-1/4" x 61"

2шт.

7

2471

DISC

CPSW - 1/2" x 2-1/2" NC GR 5

4шт.

4399

WASHER

LOCKWASHER - 1/2"

4шт.

4224

NUT - 1/2" NC

4шт.

8

77280

VALVE - shut off - (Used on IHC UD 282 and GMC 3-53 diesel engines)

1шт.

9

15162

PLUG - fuel tank - 1/4" NPT

1шт.

10

63648

WEDGE,1.25" ID x 5" OD x 2.38"

ELBOW - 90 degrees (1 used on IHC UC 263 gasoline engines and 2 used on IHC UD 282 and GMC 3-53 diesel engines)

1шт.

11

63652

END - hose (1 used on IHC UC 263 gasoline engines and 2 used on IHC UD 282 and GMC 3-53 diesel engines)

1шт.

12

63654

HOSE - fuel line - (50" used on IHC UC 263 gasoline engines, 50" and 50" used on GMC 3-53 diesel engines and 76" and 90" used on IHC UD 282 diesel engines)

1шт.

13

63652

END - hose (1 used on IHC UC 263 gasoline engines and 2 used on IHC UD 282 and GMC 3-53 diesel engines)

1шт.

14

63648

WEDGE,1.25" ID x 5" OD x 2.38"

ELBOW - 90 degrees (1 used on IHC UC 263 gasoline engines and 2 used on IHC UD 282 and GMC 3-53 diesel engines)

1шт.

15

63649

PIN

ADAPTER (Used on IHC UD 282 and GMC 3-53 diesel engines)

1шт.

16

67644

RESTRICTOR - (Used on GMC 3-53 diesel engines)

1шт.

17

17617

NIPPLE - drain - 1/4" x 4"

1шт.

18

17706

COUPLING - 1/4"

1шт.

19

49610

VALVE - drain

1шт.

20

76696

CLAMP - fuel line

2шт.

2402

LAMP

CPSW - 3/8" x 1-1/4" NC GR 5

2шт.

4397

LOCKWASHER - 3/8"

2шт.

4222

NUT - 3/8" NC

2шт.

Выбрано товаров: 25