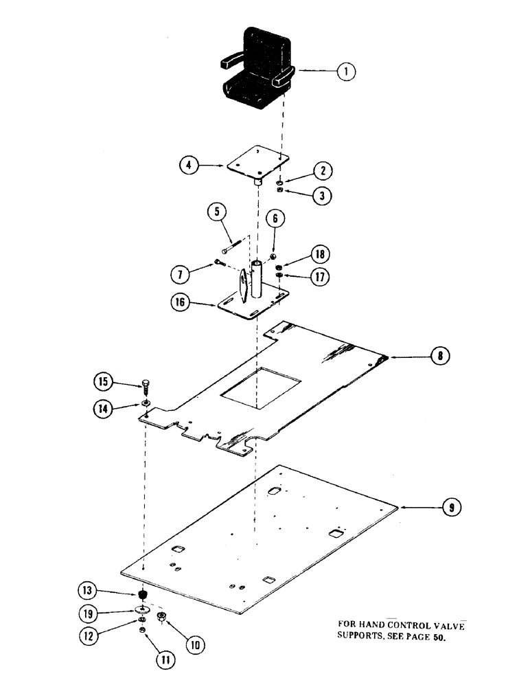
Запчасти Case 35 (046) - TURNTABLE ATTACHING PARTS INSIDE OF OPERATORS CAB (90) - PLATFORM, CAB, BODYWORK AND DECALS

Схема запчастей Case 35 - (046) - TURNTABLE ATTACHING PARTS INSIDE OF OPERATORS CAB (90) - PLATFORM, CAB, BODYWORK AND DECALS
FIT
1:1
100%

Артикул

Название

Примечание

Количество

1

REF

INSTRUCTION

SEAT - (For breakdown, see Fig. 48)

1шт.

2

195-103

WASHER,5/16"

flat - 3/8"

4шт.

3

131-205

LOCK NUT,5/16"-18

NUT, self locking - 5/16" NC

4шт.

4

S513120

BRACKET, upper seat mounting

1шт.

5

86505993

BOLT,Hex, 1/2" - 13 x 4", Gr 5

1шт.

6

131-70

NUT,1/2"-13, GB

NUT, self locking - 1/2"

1шт.

7

113-207

BOLT,Hex, 3/8" - 16 x 1", Gr 5

1шт.

8

S610677

MAT, floor - (Used on units with PIN 6266131 thru 6266240)

1шт.

S615051

FLOOR MAT

MAT, floor - (Used on units with 6266241 and after) - (Supersedes S612923)

1шт.

9

S609775

PLATE, floor - (Used on units with PIN 6266131 thru 6266240)

1шт.

S956073

PLATE, floor - (Used on units with PIN 6266241 and after) - (Supersedes S955637)

1шт.

10

S226347

NUT ASSEMBLY

1шт.

11

131-450

NUT,3/4"-10

NUT, self locking - 3/4" NC

3шт.

12

S82255

WASHER

flat - 3/4"

3шт.

13

S93392

MOUNTING PARTS

MOUNT, center bonded - (Used on units with PIN 6266131 thru 6266240)

4шт.

S112578

MOUNTING PARTS

MOUNT, center bonded - (Used on unit swith PIN 6266241 and after)

4шт.

14

S84752

WASHER

flat 3/4"

4шт.

15

13-276

BPLT - 3/4" NC x 4-3/4" gr 5

4шт.

16

S612856

BRACKET, seat mounting

1шт.

17

S95569

WASHER

flat - 1/2"

4шт.

18

131-70

NUT,1/2"-13, GB

NUT, self locking - 1/2" NC

4шт.

19

S96618

SPACER - (Used on units with PIN 6266241 and after)

4шт.

Выбрано товаров: 22