Запчасти Case 35 (064) - WINDSHIELD WIPER AND ATTACHING PARTS, (USED ON UNITS WITH PIN 6266131 THRU 6266300) (55) - ELECTRICAL SYSTEMS

Схема запчастей Case 35 - (064) - WINDSHIELD WIPER AND ATTACHING PARTS, (USED ON UNITS WITH PIN 6266131 THRU 6266300) (55) - ELECTRICAL SYSTEMS
FIT
1:1
100%

Артикул

Название

Примечание

Количество

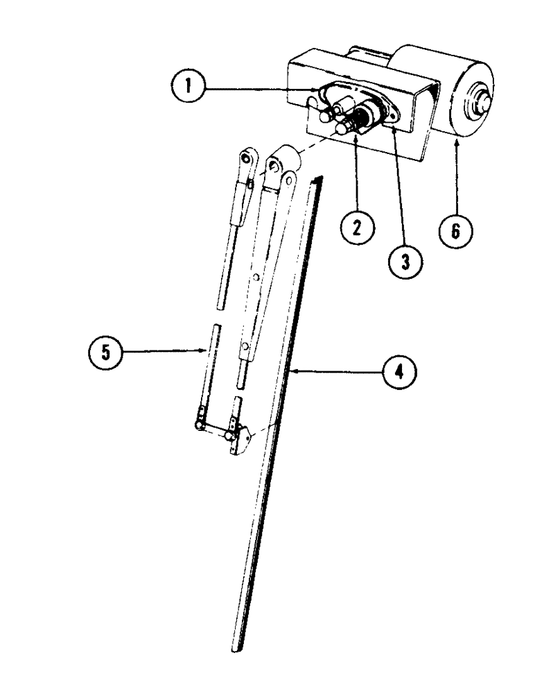
S605307

WIPER MOTOR

KIT, 12 volt wiper

1шт.

1

S61798

KIT

PLATE, adapter

1шт.

2

S225151

SHAFT

pivot

1шт.

3

S61799

SCREW

machine

2шт.

4

S225152

BLADE

wiper

1шт.

5

L35260

ARM

wiper

1шт.

6

S61800

MOTOR

modified wiper

1шт.

7

S61873

PLUG

- (Not illustrated)

1шт.

8

S61874

CLIP

SPRING - (Not illustrated)

2шт.

9

S61875

WASHER

spring - (Not illustrated)

2шт.

10

S61876

LINK

LINE, connecting - (Not illustrated)

1шт.

11

S61877

LIGHT

dome - (Not illustrated)

1шт.

12

A41647

KNOB

- (Not illustrated)

1шт.

13

S96778

NUT

jam - (Not illustrated)

1шт.

14

S90057

DECAL

- (Not illustrated)

1шт.

15

187-1812

SCREW, self tapping - no. 6 x 3/8" - (Mounts dome light) - (Not illustrated)

4шт.

Выбрано товаров: 16