Запчасти Case 35 (066) - WINDSHIELD WIPER AND ATTACHING PARTS, (USED ON UNITS WITH PIN 6266301 AND AFTER) (55) - ELECTRICAL SYSTEMS

Схема запчастей Case 35 - (066) - WINDSHIELD WIPER AND ATTACHING PARTS, (USED ON UNITS WITH PIN 6266301 AND AFTER) (55) - ELECTRICAL SYSTEMS
FIT
1:1
100%

Артикул

Название

Примечание

Количество

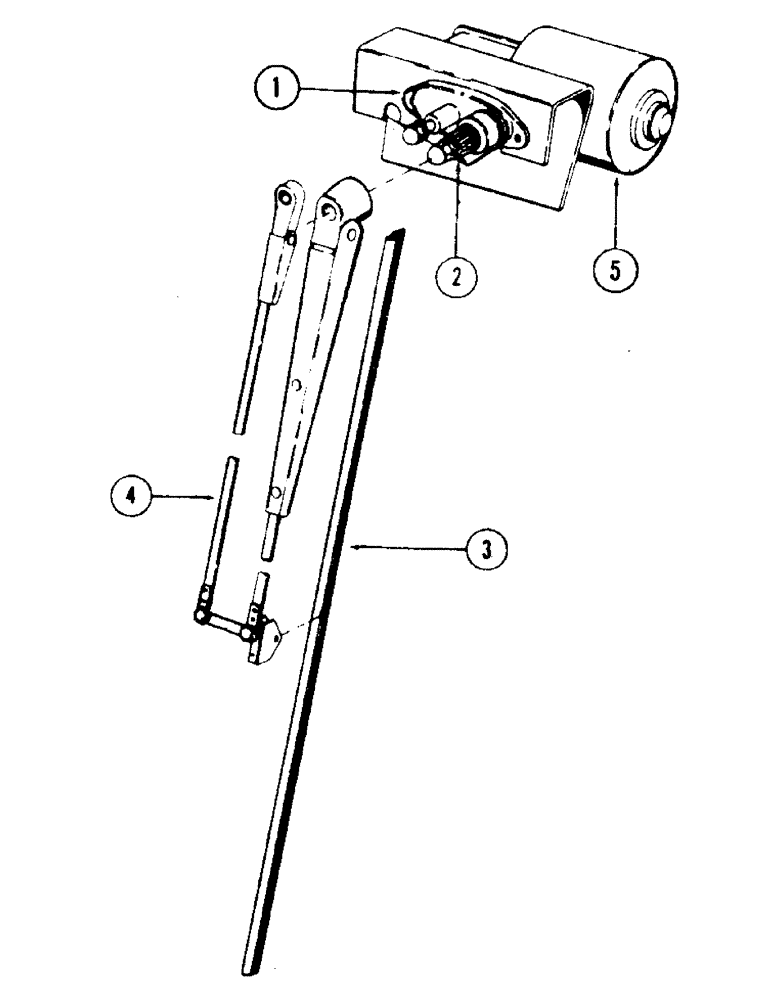
S605308

KIT

- wiper 24 volt

1шт.

1

S61798

KIT

- adapter (Includes gaskets)

1шт.

2

S225151

SHAFT

pivot

1шт.

3

S225152

BLADE

- wiper 22" long

1шт.

4

L35260

ARM

- wiper 20" long

1шт.

5

S61879

MOTOR - modified wiper

1шт.

S61873

PLUG

- (Not illustrated)

1шт.

S61874

CLIP

CUP - spring - (Not illustrated)

2шт.

S61875

WASHER

- spring - (Not illustrated)

1шт.

S61876

LINK

- connecting - (Not illustrated)

1шт.

6

S61799

SCREW

- machine - 1/4" x 5/8" - (Not illustrated)

2шт.

7

S61797

ARM

- drive - (Not illustrated)

1шт.

8

S225028

IGNITION SWITCH

SWITCH - wiper - (Not illustrated)

1шт.

9

S61880

LIGHT ASSY.

LIGHT, dome - (Not illustrated)

1шт.

187-1812

SCREW - machine no. 6 x 3/8" mounts dome light - (Not illustrated)

4шт.

Выбрано товаров: 15