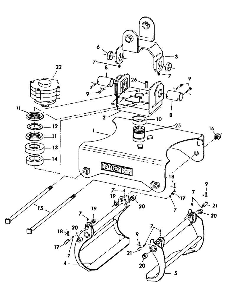
Запчасти Case 35EC (F14) - CLAM FOR: (1/4 CORD 4 WOOD) AND (3/8 CORD 8 WOOD), (USED ON 30C UNITS) (18) - ATTACHMENT ACCESSORIES

Схема запчастей Case 35EC - (F14) - CLAM FOR: (1/4 CORD 4 WOOD) AND (3/8 CORD 8 WOOD), (USED ON 30C UNITS) (18) - ATTACHMENT ACCESSORIES
FIT
1:1
100%

Артикул

Название

Примечание

Количество

56250

HUB

CLAM - 1/4 cord 4' wood - complete (Consists of items 1 thru 24) - less hydraulics

1шт.

56251

PLATE

CLAM - 3/8 cord 8' wood - complete (Consists of items 1 thru 24) - less hydraulics

1шт.

1

951240

FRAME - clam - (Includes item 23)

1шт.

2

55888

HOOD

FRAME - actuator mounting

1шт.

3

950528

YOKE - boom to acuator mounting

1шт.

4

55899

ARM - cylinder rod end - (Used on 1/4 cord clam)

1шт.

55890

ARM - cylinder rod end - (Used on 3/8 cord clam)

1шт.

5

55900

ARM - cylinder base end - (Used on 1/4 cord clam)

1шт.

55891

ARM - cylinder base end - (Used on 3/8 cord clam)

1шт.

6

64990

SPACER

BUSHING

2шт.

7

NLS

NO LONGER SERVICED

FITTING - grease - 1/8" NPT (Straight)

9шт.

8

67956

NUT

PIN - actuator frame, Serial Range: mounting-yoke

2шт.

9

10778

PIN - clevis - 3/8" x 2.125" grip length

6шт.

80756

COTTER PIN,1/8" x 3/4"

PIN - cotter - 1/8" x 3/4" long

6шт.

10

202190

BEARING

BUSHING

1шт.

11

65058

NUT - self locking

2шт.

12

65057

RATCHET

LOCKWASHER

2шт.

13

203438

RING

GUARD - bearing (Dirt seal)

1шт.

14

64848

BEARING - ball, thrust

1шт.

15

206668

PIN - arm hinge

2шт.

16

17095

O-RING

NUT - self locking - 1-1/2" NC (Arm hinge pin)

2шт.

17

27193M2

PIN - cylinder rod end - (Includes 1 of item 7)

2шт.

18

10783

PIN - clevis - 3/8" x 2.776" grip length

2шт.

4626

TOY

PIN - cotter - 1/8" x 3/4" long

2шт.

19

47197

GUARD

BUSHING - for cylinder rod end

2шт.

20

73649

VOLTAGE REGULATOR

BUSHING - arm hinge

4шт.

21

47199M1

PIN - cylinder base end - (Includes 1 of item 7)

2шт.

22

ACTUATOR - clam - (For breakdown, see section "H")

1шт.

25

207583M1

ADAPTER - splined

1шт.

26

66366

CPSW - special - 1/2" NC - actuator, Serial Range: mounting-frame

4шт.

66431

WIRE - 6 gage annealed - (Not illustrated)

36шт.

Выбрано товаров: 31