Запчасти Case 35YC (I08) - TURNTABLE WIRING HARNESS FOR: IHC UC 301 GASOLINE ENGINE AND GMC 4-53, PERKINS 6-354, AC - 2900, (06) - ELECTRICAL SYSTEMS

Схема запчастей Case 35YC - (I08) - TURNTABLE WIRING HARNESS FOR: IHC UC 301 GASOLINE ENGINE AND GMC 4-53, PERKINS 6-354, AC - 2900, (06) - ELECTRICAL SYSTEMS
FIT
1:1
100%

Артикул

Название

Примечание

Количество

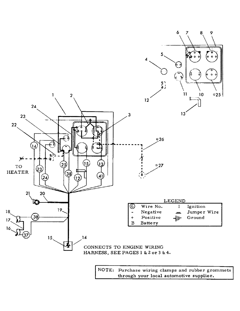
1

28875

WIRE - jumper

1шт.

2

28874

WIRE - jumper

1шт.

3

208230

WIRE - jumper

1шт.

4

NLS

NO LONGER SERVICED

BUTTON - horn - Delco-Remy #1996097

1шт.

5

NLS

NO LONGER SERVICED

BUTTON - starter - Delco-Remy #1996097

1шт.

6

49918

BREAKER - circuit - Littelfuse #B-813080 or F.E.

1шт.

75869

KIT

LOCKWASHER - external tooth - #10

3шт.

17276

NUT - #10 NF

3шт.

7

27824M2

GAUGE - engine temperature - Stewart Warner #311-AH or F.E.

1шт.

8

27827M2

GAUGE - oil pressure - Stewart Warner #306-K or F.E.

1шт.

9

202345M1

PANEL - instrument

1шт.

7496

SCREW - self tapping - 1/4" x 1/2" NC

2шт.

10

27828M1

AMMETER - Stewart Warner #357-X or F.E.

1шт.

11

76366

SWITCH - ignition - Delco-Remy #1116668 or F.E.

1шт.

12

SWITCH - heater - furnished with heater (Optional)

1шт.

13

206570

STRAP - instrument gauges ground

1шт.

14

85824

PLATE

PROTECTOR - plastic spray

1шт.

15

73386

SPARE PART

TIE - cable - Panduit type LST-4 (Secures connector bodies together)

1шт.

16

80117

SWITCH - micro-roller lever #BZ-2RW82255T or F.E.

1шт.

17

WIRE - jumper - 14 gauge wire 20" long

1шт.

18

67614

SWITCH - micro - straight lever #BZ-2RW885T or F.E. (Controlled by the brake valve spool)

1шт.

19

39058M1

WIRING HARNESS - main

1шт.

76696

CLAMP -, Serial Range: harness-turntable

4шт.

17167

LOCK NUT

NUT - 3/8" NC

4шт.

NLS

NO LONGER SERVICED

CLAMP -, Serial Range: harness-engine

1шт.

20

62256

LOOM - auto non metalic - 12" long

1шт.

21

203189

HORN - Delco Remy #9000514

1шт.

64752

NUT

1шт.

7378

WASHER - flat - spacer for horn

1шт.

22

WIRE - jumper

1шт.

23

206233

WIRE - jumper

1шт.

24

WIRE - jumper

2шт.

25

27829M1

GAUGE - fuel

1шт.

Added listing.

1шт.

26

208230

WIRE - jumper

1шт.

Added listing.

1шт.

27

502600

SENDING UNIT - fuel gauge

1шт.

Added listing.

1шт.

Выбрано товаров: 38