Запчасти Case 35YC (131) - TRACK DRIVE MOTOR (07) - HYDRAULIC SYSTEM

Схема запчастей Case 35YC - (131) - TRACK DRIVE MOTOR (07) - HYDRAULIC SYSTEM
FIT
1:1
100%

Артикул

Название

Примечание

Количество

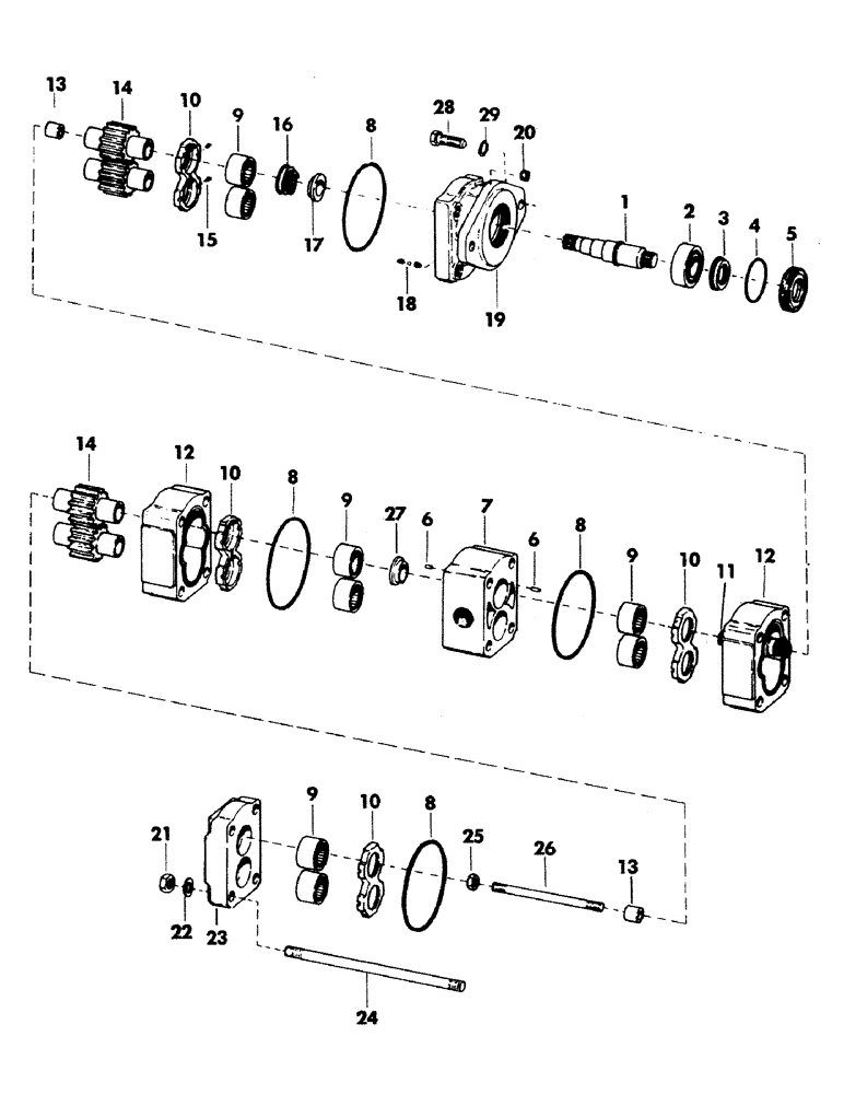
S39993

MOTOR

track drive - complete (Consists of items 1 thru 27)

2шт.

1

S64277

SHAFT

1шт.

2

S63513

TAPERED BEARING

BEARING, tapered

1шт.

3

S70416

OIL SEAL

high pressure

1шт.

4

S6592

O-RING,0.139" Thk x 2.234" ID, -228, Cl 6, 90 Duro

"O" RING - 2.234" ID x 2.500" OD

1шт.

5

S70415

RETAINER

RING, retainer

1шт.

6

S63529

PIN

roll

2шт.

7

S72899

CARRIER

bearing

1шт.

8

S83751

SEAL

"O" RING - 4.109" ID x 4.375" OD

4шт.

9

S63517

ROLLER BEARING

roller

8шт.

10

S63522

LARGE PLATE

PLATE, thrust

4шт.

11

S63530

SHAFT

connecting

1шт.

12

S75508

HOUSING

gear

2шт.

13

S76245

SPACER

2шт.

14

S72565

GEAR-SET

GEAR, set - 1-3/4"

2шт.

15

S17682

SEAL

pocket (Bulk) - 2 strips makes enough seals for tandem motor

2шт.

16

S63518

SPRING

1шт.

17

S63519

BUSHING

shaft

1шт.

18

S61749

VALVE

ASSEMBLY, check

2шт.

19

S77722

COVER

shaft end

1шт.

20

S7879

PLUG

socket pipe - 1/4" NPT - (Used in neck of item 19)

1шт.

21

S4206

NUT - 9/16" NC

4шт.

22

S80754

WASHER

flat - 21/32" ID x 1-1/4" OD x 3/16"

4шт.

23

S63520

COVER, port end

1шт.

24

S76269

STUD

connecting - external

4шт.

25

S63533

LOCK NUT

NUT, lock

1шт.

26

S76268

STUD, connecting - internal

1шт.

27

S63528

BUSHING

shaft

2шт.

28

S2467

BOLT

CPSW - 1/2" NC x 1-1/2" Gr 5 - (Motor mounting)

2шт.

29

S4399

WASHER

lock - 1/2"

2шт.

Выбрано товаров: 30