Запчасти Case 35YC (170) - COLD WEATHER STARTING KIT (01) - ENGINE

Схема запчастей Case 35YC - (170) - COLD WEATHER STARTING KIT (01) - ENGINE
FIT
1:1
100%

Артикул

Название

Примечание

Количество

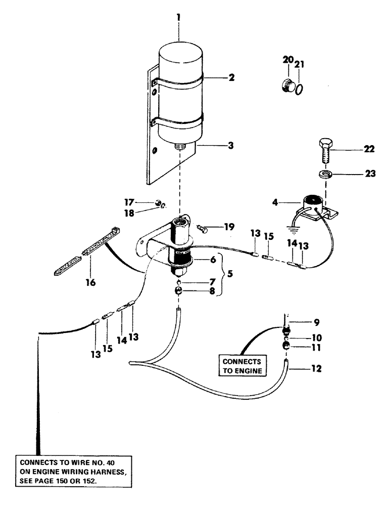
S205216

THERMOSTART

KIT, cold weather starting - complete (Consists of items 1 thru 12)

1шт.

1

D55767

CYLINDER

CARTRIDGE, refill

1шт.

2

NSS

NOT SOLD SEPARAT

CLAMP, cartridge mounting

2шт.

3

NSS

NOT SOLD SEPARAT

BRACKET, cartridge mounting

1шт.

4

NSS

NOT SOLD SEPARAT

THERMOSTAT

1шт.

5

L35280

VALVE

ACTUATOR VALVE ASSEMBLY - complete (Consists of items 6 thru 8)

1шт.

6

NSS

NOT SOLD SEPARAT

VALVE, actuator

1шт.

7

NSS

NOT SOLD SEPARAT

SLEEVE, flex tube

1шт.

8

NSS

NOT SOLD SEPARAT

NUT, flex tube

1шт.

9

L35282

JET

NOZZLE, manifold

1шт.

10

NSS

NOT SOLD SEPARAT

SLEEVE, flex tube

1шт.

11

NSS

NOT SOLD SEPARAT

NUT, flex tube

1шт.

12

S83432

TUBE, nylon - (1/8" OD x 75" long)

1шт.

13

L11779

TUBE,0.187" ID x 0.187" OD x 1" L

INSULATOR, connector

4шт.

14

L11778

CONNECTOR, ELEC

CONNECTOR, male bullet - (.180" diameter)

2шт.

15

L13437

CONNECTOR, female bullet - (.180" diameter)

2шт.

16

L18331

CABLE TIE,375.9mm L, Nylon, Black

STRAP, CABLE

1шт.

17

7770

NUT,Hex, 1/4 - 20, Cl 5

- 1/4" NC

2шт.

18

S4395

WASHER, LOCK

- 1/4"

2шт.

19

S2350

MUFFLER

CPSW - 1/4" NC x 3/4" Gr 5

2шт.

20

A20917

PLUG

manifold heater hole - 1-1/8" NPTF

1шт.

21

A20916

MANIFOLD GASKET

WASHER, plug

1шт.

22

S2400

MUFFLER

CPSW - 3/8" NC x 3/4" Gr 5

1шт.

23

S4397

WASHER

lock - 3/8"

1шт.

24

S17550

PLUG

BUSHING - 1/4" NPT male x 1/8" NPT female

1шт.

Выбрано товаров: 25