Запчасти Case 35YC (092) - WRIST-O-TWIST (05) - UPPERSTRUCTURE CHASSIS

Схема запчастей Case 35YC - (092) - WRIST-O-TWIST (05) - UPPERSTRUCTURE CHASSIS
FIT
1:1
100%

Артикул

Название

Примечание

Количество

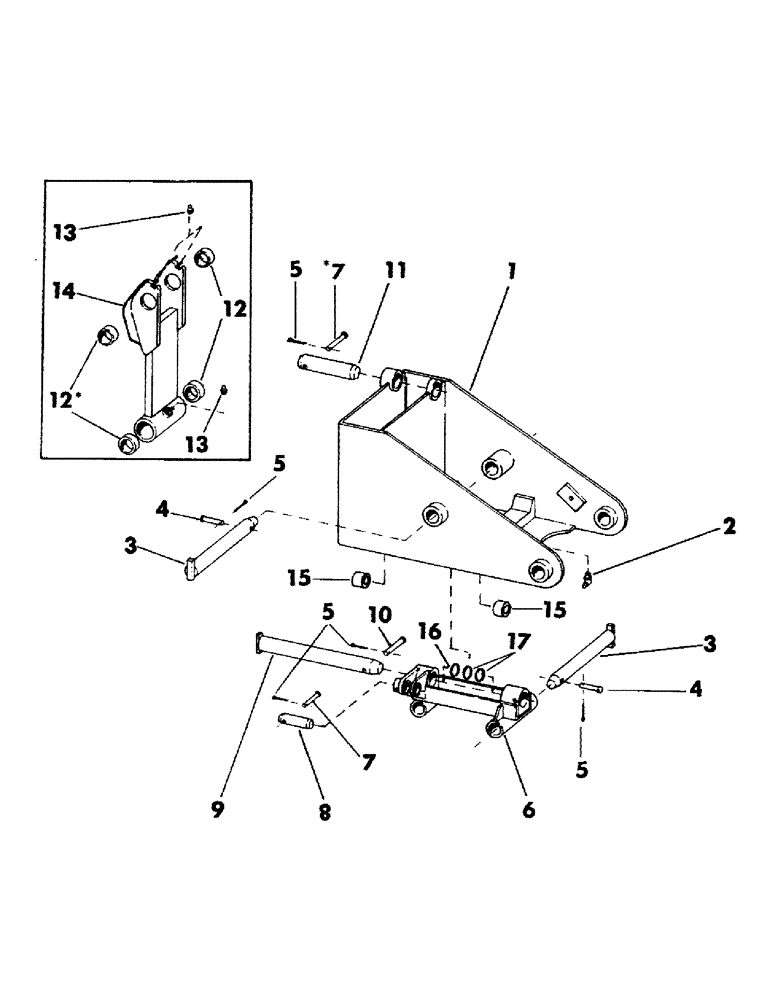
1

S57910M1

FRAME, upper

1шт.

2

S12033

FITTING

grease - 1/8" NPT x 65 degrees

1шт.

3

S213911

PIN

1шт.

4

S61972

PIN

clevis - 1/2" x 3.266" grip length

2шт.

5

S4641

PIN, SPLIT (COTTER)

PIN, cotter - 5/32" x 1" long

5шт.

6

S37918M2

HINGE, lower

1шт.

7

S61970

PIN

clevis - 1/2" x 2.516" grip length

2шт.

8

S75299

PIN

1шт.

9

S201022M1

PIN

1шт.

10

S61976

CLEVIS PIN

PIN, clevis - 5/8" x 4.516" grip length

1шт.

11

S74766

PIN

1шт.

12

S202134

BUSHING

4шт.

13

S12031

FITTING,1/8"-27 x .66 lg

grease - 1/8" NPT (Straight)

3шт.

14

S208062M2

LINK

attachment

1шт.

15

S202163

BUSHING

2шт.

16

S88992

WASHER

- (Use as shims)

1шт.

17

S88993

WASHER

- (Use as shims)

1шт.

Выбрано товаров: 17