Запчасти Case 40 (108) - WINDSHIELD WIPER KIT, (USED ON UNITS WITH PIN 6270716 THRU 6270854) (55) - ELECTRICAL SYSTEMS

Схема запчастей Case 40 - (108) - WINDSHIELD WIPER KIT, (USED ON UNITS WITH PIN 6270716 THRU 6270854) (55) - ELECTRICAL SYSTEMS
FIT
1:1
100%

Артикул

Название

Примечание

Количество

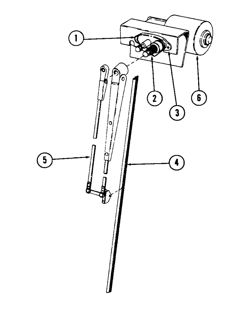
S605307

WIPER MOTOR

KIT, 12 volt wiper

1шт.

1

S61798

KIT

PLATE, adapter

1шт.

2

S225151

SHAFT

pivot

1шт.

3

S61799

SCREW

machine

2шт.

4

S225152

BLADE

wiper

1шт.

5

L35260

ARM

wiper

1шт.

6

S61800

MOTOR

modified wiper

1шт.

7

S61873

PLUG

(Not illustrated)

1шт.

8

S61874

CLIP

SPRING (Not illustrated)

2шт.

9

S61875

WASHER

spring (Not illustrated)

2шт.

10

S61876

LINK

LINE, connecting (Not illustrated)

1шт.

11

S61877

LIGHT

dome (Not illustrated)

1шт.

187-1715

SELF-TAP SCREW,Slotted Pan Hd, #6 x 1/2"

SCREW, machine - No. 6 x 1/2" (Mounts dome light) (Not illustrated)

1шт.

12

A41647

KNOB

(Not illustrated)

1шт.

13

S96778

NUT

jam (Not illustrated)

1шт.

14

A41730

DECAL

(Not illustrated)

1шт.

Выбрано товаров: 16