Запчасти Case 40 (110) - WINDSHIELD WIPER AND ATTACHING PARTS, (USED ON UNITS WITH PIN 6270855 AND AFTER) (55) - ELECTRICAL SYSTEMS

Схема запчастей Case 40 - (110) - WINDSHIELD WIPER AND ATTACHING PARTS, (USED ON UNITS WITH PIN 6270855 AND AFTER) (55) - ELECTRICAL SYSTEMS
FIT
1:1
100%

Артикул

Название

Примечание

Количество

S605308

KIT

- wiper 24 volt

1шт.

1

S61880

LIGHT ASSY.

LIGHT, dome

1шт.

2

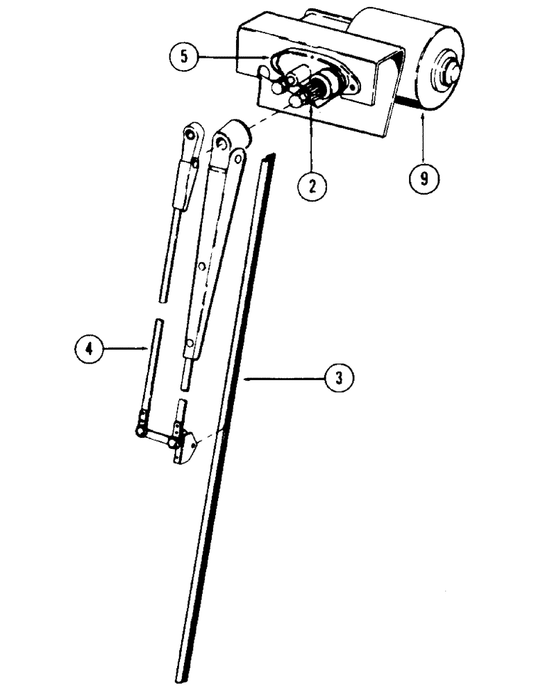
S225151

SHAFT

- pivot

1шт.

3

S225152

BLADE

- wiper 22" long

1шт.

4

L35260

ARM

- wiper 20" long

1шт.

5

S61798

KIT

- adpater (Includes gaskets)

1шт.

6

S61799

SCREW

machine - 1/4" x 5/8"

2шт.

7

S61797

ARM

- drive (Not illustrated)

1шт.

8

S225028

IGNITION SWITCH

SWITCH - wiper (Not illustrated)

1шт.

9

S61879

MOTOR - modified wiper

1шт.

10

S61873

PLUG

(Not illustrated)

1шт.

11

S61874

CLIP

CUP - spring (Not illustrated)

2шт.

12

S61875

WASHER

- spring (Not illustrated)

1шт.

13

S61876

LINK

- connecting (Not illustrated)

1шт.

14

187-1812

SCREW - machine No. 6 x 3/8" mounts dome light (Not illustrated)

4шт.

Выбрано товаров: 15