Запчасти Case 40 (144) - WRIST-O-TWIST (84) - BOOMS, DIPPERS & BUCKETS

Схема запчастей Case 40 - (144) - WRIST-O-TWIST (84) - BOOMS, DIPPERS & BUCKETS
FIT
1:1
100%

Артикул

Название

Примечание

Количество

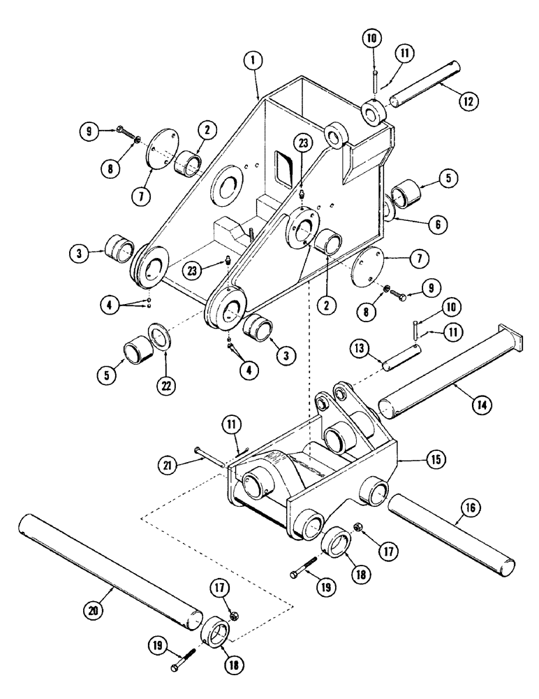
1

S610287

FRAME, upper

1шт.

2

S229988

BUSHING

2шт.

3

S511922

BUSHING

2шт.

4

178-53

SET SCREW,Hex Soc, 3/8"-16 x 3/8"

SCREW, set - 3/8" NC x 3/8" (Cone point)

4шт.

5

S202163

BUSHING

2шт.

6

S88993

WASHER

shim (.09" thick)

2шт.

7

S106642

COVER

2шт.

8

192-21

LOCK WASHER,3/8"

WASHER, LOCK, 3/8"

6шт.

9

26-614

BOLT,Hex, 3/8" - 16 x 7/8", Gr 8

- 3/8" NC x 7/8" Gr 8

6шт.

10

S61970

PIN

clevis - 1/2" x 2.516" grip length

2шт.

11

132-69

COTTER PIN,5/32" x 1"

Pin, Split (Cotter), 5/32" x 1"

3шт.

12

S74766

PIN

(Wrist-o-twist cylinder base, Serial Range: end-frame)

1шт.

13

S75299

PIN

(Wrist-o-twist cylinder rod, Serial Range: end-hinge)

1шт.

14

S229745

PIN ASSY.

PIN, Serial Range: (Frame-hinge)

1шт.

15

S610286

HINGE

1шт.

16

S233811

PIN

, Serial Range: (Bucket-hinge)

1шт.

17

S108054

NUT

cap - 1/2" NC

2шт.

18

S108660

COLLAR

2шт.

19

413-868

BOLT,Hex, 1/2" - 13 x 4-1/4", Gr 5

- 1/2" NC x 4-1/4" Gr 5

2шт.

20

S233813

PIN

, Serial Range: (Bucket-hinge)

1шт.

21

S61975

PIN,20.62mm OD x 106.76mm L

clevis - 5/8" x 3.766" grip length

1шт.

22

S88992

WASHER

shim (.06" thick)

2шт.

23

219-1

LUBE NIPPLE,1/8" - 27 NPTF

FITTING, grease - 1/8" NPT (Straight)

5шт.

Выбрано товаров: 23