Запчасти Case 40 (032) - FUEL INJECTION SYSTEM, 504BDT ENGINE (10) - ENGINE

Схема запчастей Case 40 - (032) - FUEL INJECTION SYSTEM, 504BDT ENGINE (10) - ENGINE
FIT
1:1
100%

Артикул

Название

Примечание

Количество

1

REF

INSTRUCTION

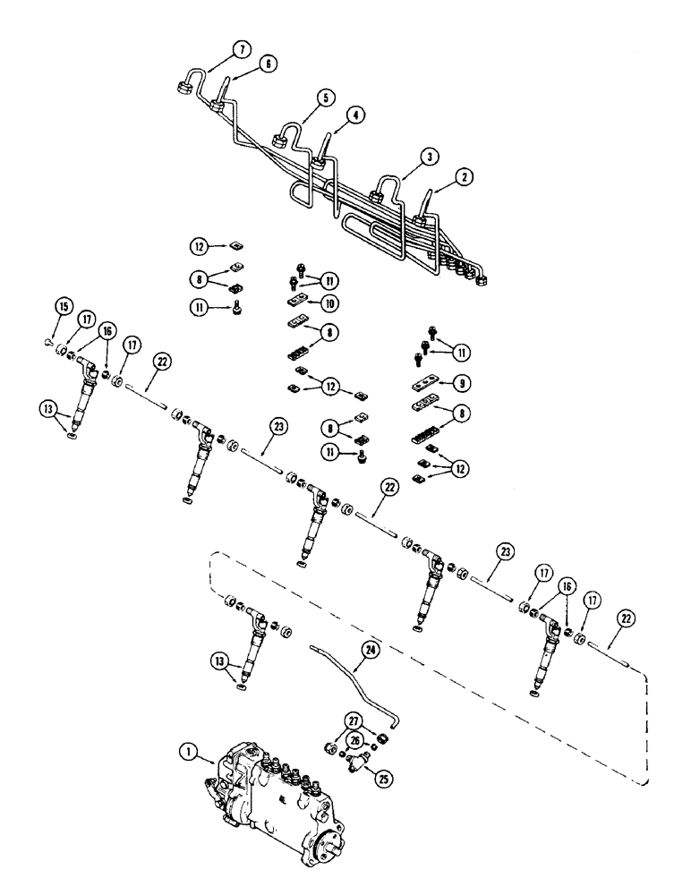
PUMP - fuel injection (See Figure 040)

1шт.

2

A67353

TUBE

- fuel injection, #1 cylinder

1шт.

3

A67354

TUBE

- fuel injection, #2 cylinder

1шт.

4

A67355

TUBE

- fuel injection, #3 cylinder

1шт.

5

A67356

TUBE

- fuel injection, #4 cylinder

1шт.

6

A67357

TUBE

- fuel injection, #5 cylinder

1шт.

7

A67358

TUBE

- fuel injection, #6 cylinder

1шт.

8

A58709

BRACKET

- injection tube

14шт.

9

A58708

PLATE

- injection tube bracket (For 6 lines)

1шт.

10

A58710

PLATE

- injection tube bracket (For 4 lines)

1шт.

11

163-19

SCREW,Sl Hex Wshr Hd, #10 - 24 x 1"

- #10 x 1" NC hex slotted

7шт.

12

131-612

SPRING NUT,Flat, #10 - 24, 0.022" Thk

NUT - #10 NC Tinnerman

7шт.

13

REF

INSTRUCTION

NOZZLE - fuel injection (See Figure 038)

6шт.

15

47-37

RIVET,FH, 3/16" x 7/16"

- 3/16" x 7/16" flat head

1шт.

16

222-101

SLEEVE,3/16" Tube

- for 3/16" Tube

12шт.

17

222-111

TUBE NUT,7/16" - 24

NUT - for 3/16" tube

12шт.

22

A76642

TUBE

- leak off, 4-13/16" long (119.13 MM)

3шт.

23

A76641

TUBE

- leak off, 5-3/4" long (146.05 MM)

2шт.

24

A136189

TUBE

- leak-off, #1, Serial Range: nozzle-valve

1шт.

25

A59097

VALVE

ASSY - restrictdor, leak off

1шт.

26

222-102

SLEEVE,1/4" Tube

2шт.

27

87017024

TUBE NUT,1/2"-24

NUT - for 1/4" tube

2шт.

Выбрано товаров: 22