Запчасти Case 40 (066) - FINAL DRIVE TRANSMISSION (14) - MAIN GEARBOX & DRIVE

Схема запчастей Case 40 - (066) - FINAL DRIVE TRANSMISSION (14) - MAIN GEARBOX & DRIVE
FIT
1:1
100%

Артикул

Название

Примечание

Количество

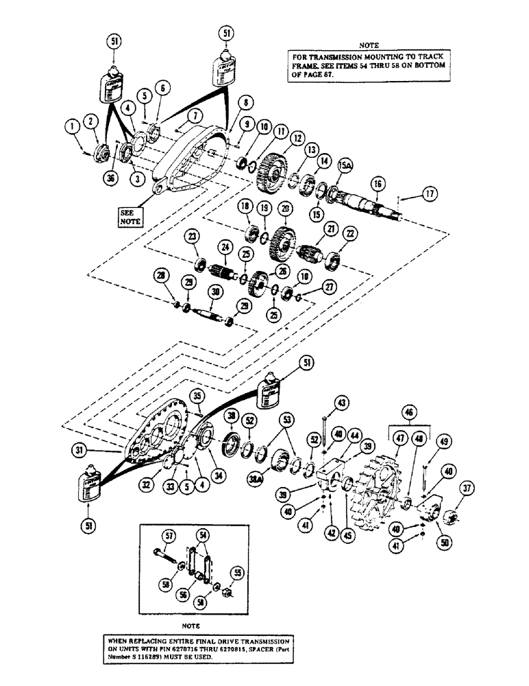
45

S95495

SPACER

1шт.

46

S512195

SPROCKET ASSY.

SPROCKET ASSEMBLY

1шт.

47

NSS

NOT SOLD SEPARAT

SPROCKET (Order S512195)

1шт.

48

S95493

SPACER

1шт.

49

26-1268

BOLT,Hex, 3/4" - 10 x 4-1/4", Gr 8

- 3/4" NC x 4-1/4" Gr 8

2шт.

50

S212544

BEARING CARRIER

BLOCK, pillow

1шт.

51

B17423

LOCTITE

- 10 CC bottle (Red) (Used in place of gaskets, substitutes must not be used)

1шт.

52

S235141

SEAL

dirt

2шт.

53

S235140

SEAL

grease (With spring) (If replacement is required order item 52, S235141 dirt seal in addition)

2шт.

54

S223205

LINK

2шт.

55

131-82

NUT,1"-8

NUT, self locking - 1" NC

2шт.

56

S111807

SPACER

(Used on units with pin 6270716 thru 6270815) (See note)

1шт.

S116289

SPACER

(Used on units with pin 6270816 and after)

1шт.

57

13-1672

BOLT,Hex, 1" - 8 x 4-1/2", Gr 5

2шт.

58

195-53

WASHER,1" x 2" x .134"

flat - 1"

4шт.

Выбрано товаров: 15