Запчасти Case 40 (160) - INNER SWIVEL, (USED WITH TRACK BRAKE AND SINGLE SPEED DRIVE) (35) - HYDRAULIC SYSTEMS

Схема запчастей Case 40 - (160) - INNER SWIVEL, (USED WITH TRACK BRAKE AND SINGLE SPEED DRIVE) (35) - HYDRAULIC SYSTEMS
FIT
1:1
100%

Артикул

Название

Примечание

Количество

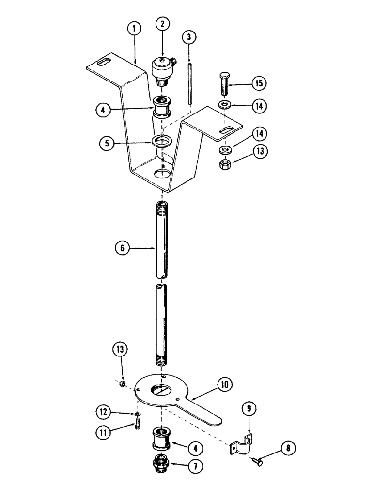
S511749

PIVOT

SWIVEL ASSEMBLY, inner

1шт.

1

S229692

PLATE

Guide

1шт.

2

REF

INSTRUCTION

SWIVEL (For breakdown, see Figure 164)

1шт.

3

138-169

LOCK PIN,5/16" x 4", Slotted

2шт.

4

S115683

COUPLING

1/4" NPT female

2шт.

5

S71802

NYLON BEARING,0.756" ID x 1.187" OD x 0.375"

Nylon

1шт.

6

221-719

PIPE,Nipple, 1/4" NPT x 24 1/2"

1/4" NPT x 24-1/4" long

1шт.

7

218-443

HYD CONNECTOR,9/16" - 18 Male JIC x 1/4" - 18 Male NPTF

ADAPTER (3/8" tube)

1шт.

8

113-207

BOLT,Hex, 3/8" - 16 x 1", Gr 5

2шт.

9

S85438

CLAMP

1шт.

10

S237399

LARGE PLATE

PLATE, LARGE Lower swivel mounting

1шт.

11

113-103

BOLT,Hex, 5/16" - 18 x 1", Gr 5

3шт.

12

192-20

LOCK WASHER,Helical Spring, 0.318" ID, CST, ZND

3шт.

13

231-1445

NUT,5/16"-18, GB

4шт.

14

195-102

WASHER,1/4"

Flat - 5/16"

4шт.

15

113-104

BOLT,Hex, 5/16" - 18 x 1-1/4", Gr 5

2шт.

Выбрано товаров: 16