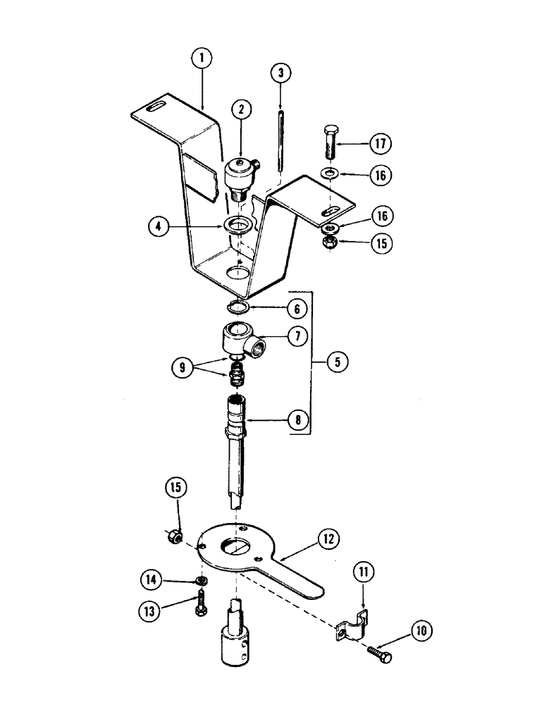
Запчасти Case 40 (162) - INNER SWIVEL, (USED WITH TRACK BRAKE AND TWO SPEED DRIVE) (35) - HYDRAULIC SYSTEMS

Схема запчастей Case 40 - (162) - INNER SWIVEL, (USED WITH TRACK BRAKE AND TWO SPEED DRIVE) (35) - HYDRAULIC SYSTEMS
FIT
1:1
100%

Артикул

Название

Примечание

Количество

S612193

PIVOT

SWIVEL ASSEMBLY - inner

1шт.

1

S234874

BRACKET

1шт.

2

REF

INSTRUCTION

SWIVEL (For breakdown, see Figure 164)

1шт.

3

138-169

LOCK PIN,5/16" x 4", Slotted

2шт.

4

S71802

NYLON BEARING,0.756" ID x 1.187" OD x 0.375"

Nylon

1шт.

5

S229478

SWIVEL CONNECTION

Inner

1шт.

6

C13513

RING

Retaining

1шт.

7

S111313

SLEEVE

Swivel

1шт.

8

S229479

TUBE,0.746" OD x 23.05" L

ASSEMBLY - inner swivel

1шт.

9

S95069

FITTING

CONNECTOR (3/8" tube) - 7/16"- 20 male x 9/16"-18 male - 37 degrees flared

1шт.

S6057

O-RING

1шт.

10

113-207

BOLT,Hex, 3/8" - 16 x 1", Gr 5

2шт.

11

S48542

CLAMP

1шт.

12

S237399

LARGE PLATE

PLATE, LARGE Lower swivel mounting

1шт.

13

113-103

BOLT,Hex, 5/16" - 18 x 1", Gr 5

3шт.

14

192-20

LOCK WASHER,Helical Spring, 0.318" ID, CST, ZND

3шт.

15

131-52

NUT,3/8"-16, GC

4шт.

16

195-104

WASHER,3/8"

4шт.

17

113-208

BOLT,Hex, 3/8" - 16 x 1-1/4", Gr 5

2шт.

Выбрано товаров: 19