Запчасти Case 40 (182) - "E" BOOM AND DIPPERSTICK TUBING (35) - HYDRAULIC SYSTEMS

Схема запчастей Case 40 - (182) - "E" BOOM AND DIPPERSTICK TUBING (35) - HYDRAULIC SYSTEMS
FIT
1:1
100%

Артикул

Название

Примечание

Количество

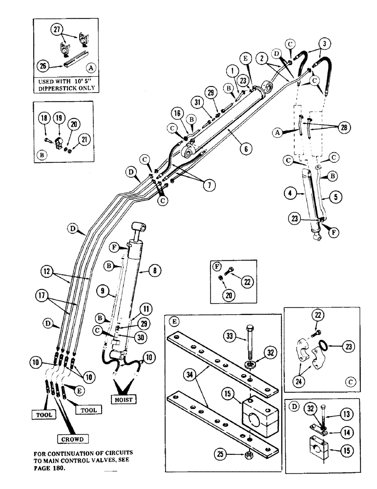
1

S233816

TUBE,1.25" OD x 26.33, 0.32" L

Hydraulic

1шт.

2

S611734

TUBE,1.25" OD x 124.95, 2.98" L

Hydraulic

1шт.

3

S229987

HOSE ASSY.

High pressure

2шт.

4

REF

INSTRUCTION

CYLINDER - tool (For breakdown, see Figure 212)

1шт.

5

S235038

TUBE ASSY.,1.25" OD x 42.55, 0.92" L

Hydraulic

1шт.

6

REF

INSTRUCTION

CYLINDER - crowd (For breakdown, see Figure 206)

1шт.

7

S229986

HOSE ASSY.

High pressure

2шт.

8

REF

INSTRUCTION

CYLINDER - hoist (For breakdown, see Figure 210)

1шт.

9

S613863

TUBE ASSY.,1.25" OD

Hydraulic

1шт.

10

S8628

HOSE

High pressure - 1" ID x 36" long (With 1-5/16"-12 female pressed on couplings)

6шт.

11

S513215

TUBE,1.25" OD

Hydraulic

1шт.

12

S611733

TUBE ASSY.,1.25" OD x 98.86, 54.66" L

SPARE PART Hydraulic

2шт.

13

113-177

BOLT,Hex, 5/16" - 18 x 3", Gr 5

1шт.

14

S112618

PLATE

1шт.

15

S112617

CLAMP

1шт.

16

S233817

TUBE,1.25" OD x 26.06, 0.56" L

Hydraulic

1шт.

17

S611732

TUBE ASSY.,1.25" OD

SPARE PART Hydraulic

2шт.

18

113-311

BOLT,Hex, 7/16" - 14 x 1-1/2", Gr 5

1шт.

19

S106606

CLAMP

1шт.

20

192-22

LOCK WASHER,7/16"

1шт.

21

129-104

NUT,7/16"-14, G5

1шт.

22

113-312

BOLT,Hex, 7/16" - 14 x 1-1/4", Gr 5

1шт.

23

S6586

O-RING,0.139" Thk x 1.484" ID, -222, Cl 6, 90 Duro

(1.750" OD)

1шт.

24

A12301

CLAMP,Half

CLAMP - half flange

1шт.

25

131-462

NUT,5/16"-18

8шт.

26

S105626

CHANNEL

1шт.

27

S93266

CLAMP

2шт.

28

S235041

TUBE ASSY.,1.25" OD x 15.44, 0.58" L

Hydraulic (Used with 10'5" dipperstick only)

2шт.

29

S7984

FITTING

CONNECTOR (1-1/4" tube) - 1-5/16"-12 male x 1-5/8"-12 male - 37 degrees flared

2шт.

S6069

O-RING,1.171" ID x 0.116" Width

1шт.

30

S233818

TUBE ASSY.,1.25" OD x 4.69" L

Hydraulic

1шт.

31

S112010

VALVE, CHECK

REGULATOR - flow

1шт.

32

193-29

LOCK WASHER,Int Tooth, 5/16"

1шт.

33

113-138

BOLT,Hex, 5/16" - 18 x 3-1/2", Gr 5

8шт.

34

S237593

SPARE PART

2шт.

Выбрано товаров: 35