Запчасти Case 40 (212) - TOOL CYLINDER, (5.50" ID X 36.30" STROKE) (35) - HYDRAULIC SYSTEMS

Схема запчастей Case 40 - (212) - TOOL CYLINDER, (5.50" ID X 36.30" STROKE) (35) - HYDRAULIC SYSTEMS
FIT
1:1
100%

Артикул

Название

Примечание

Количество

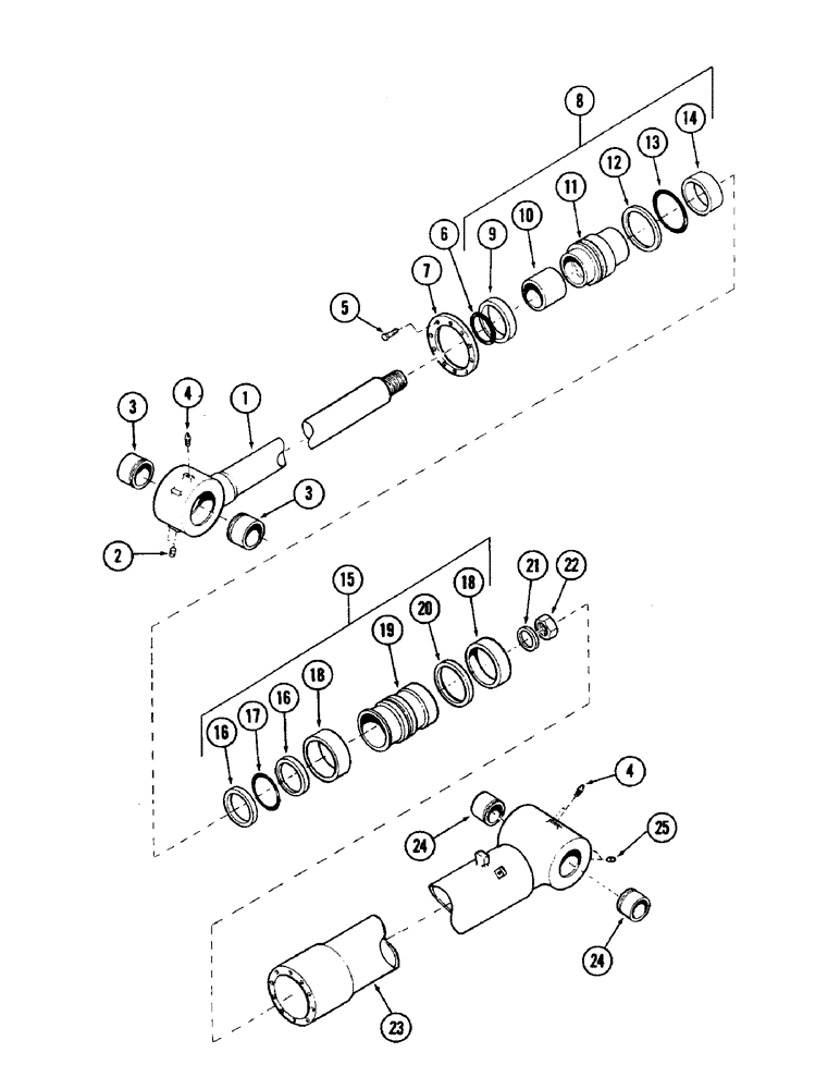
S955895

CYLINDER

tool (Supersedes S955284)

1шт.

1

S511753

ROD ASSY.

ROD

1шт.

2

S14335

SCREW

set

2шт.

3

S234901

BUSHING

2шт.

4

219-1

LUBE NIPPLE,1/8" - 27 NPTF

FITTING, grease - 1/8" NPT (Straight)

3шт.

5

28-1036

BOLT,Hex, 5/8" - 18 x 2-1/4", Gr 8

(Supersedes S12440)

10шт.

6

A23316

O-RING,0.139" Thk x 4.484" ID, -246, Cl 5, 75 Duro

"O" RING

10шт.

7

S511428

PLATE

1шт.

8

NSS

NOT SOLD SEPARAT

GLAND ASSEMBLY

1шт.

9

S92653

WIPER

1шт.

10

S111813

SLEEVE ASSY

BEARING, nylon

1шт.

11

S115701

GLAND (Supersedes S110154)

1шт.

12

G34260

RING,5.484" ID x 5.762" OD

back up

1шт.

13

A55800

O-RING,0.139" Thk x 5.484" ID, -254, Cl 5, 75 Duro

"O" RING

1шт.

14

S220044

ROD

SEAL, rod

1шт.

15

S233232

PISTON

1шт.

16

G32126

BACK-UP RING,89.28mm ID x 95.38mm OD x 1.4mm Thk

back up

2шт.

17

G15457

O-RING,0.139" Thk x 3.484" ID, -238, Cl 5, 75 Duro

"O" RING

1шт.

18

S108947

RING

wear

2шт.

19

S511750

PISTON

1шт.

20

S228606

SEAL

SEAL

1шт.

21

G32653

WASHER

1шт.

22

131-76

LOCK NUT,2"-12

NUT (Supersedes S83249)

1шт.

23

S611555

TUBE,5.5" DIA x 51.35" L

1шт.

24

S234900

BUSHING

2шт.

25

S14335

SCREW

set

2шт.

26

S115707

KIT, gland repair (Item 8 thru 14) (Supersedes S111628)

1шт.

27

S111970

KIT

seal repair (Includes items 9, 10, 12 thru 14, 16 thru 18 and 20)

1шт.

Выбрано товаров: 28