Запчасти Case 40 (230) - MAIN HYDRAULIC PUMP, (USED WITH DETROIT DIESEL ENGINE) (35) - HYDRAULIC SYSTEMS

Схема запчастей Case 40 - (230) - MAIN HYDRAULIC PUMP, (USED WITH DETROIT DIESEL ENGINE) (35) - HYDRAULIC SYSTEMS
FIT
1:1
100%

Артикул

Название

Примечание

Количество

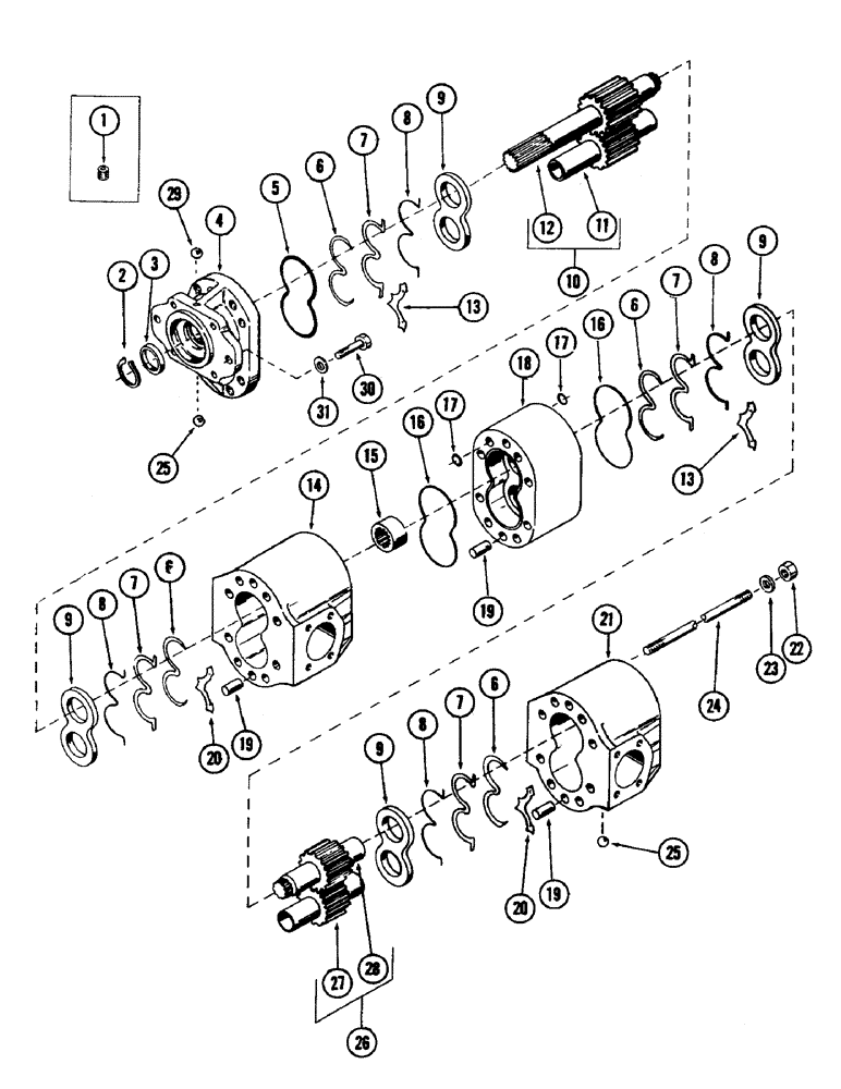
S513592

PUMP, HYDRAULIC

PUMP, main hydraulic

1шт.

1

L35776

PLUG

(Into discharge port)

1шт.

2

D41419

RING

snap

1шт.

3

D41418

SEAL

1шт.

4

S113263

KIT

FLANGE

1шт.

S109040

BUSHING

(Not illustrated)

2шт.

5

S98712

O-RING,0.139" Thk x 5.234" ID, -252, Cl 5, 75 Duro

"O" RING

1шт.

6

S108490

OIL SEAL

RING, retainer

4шт.

7

S114828

OIL SEAL

RING, back up

4шт.

8

S108891

SEAL

"O" RING

4шт.

9

S114855

PLATE

pressure

4шт.

10

S113940

KIT, front drive gear

1шт.

11

NSS

NOT SOLD SEPARAT

GEAR, idler (Front)

1шт.

12

NSS

NOT SOLD SEPARAT

GEAR, drive (Front)

1шт.

13

S108894

PLATE

isolation (Top)

2шт.

14

S113938

BODY, front section

1шт.

S109040

BUSHING

(Not illustrated)

2шт.

15

S108895

COUPLING

splined

1шт.

16

S98713

O-RING

"O" RING

2шт.

17

H755975

O-RING,0.103" Thk x 0.612" ID, -114, Cl 6, 90 Duro

"O" RING, stud stabilizer

16шт.

18

S108488

PLATE, bearing

1шт.

S109040

BUSHING

(Not illstrated)

2шт.

19

D41414

PIN

DOWEL

6шт.

20

S108893

PLATE

isolation (Bottom)

2шт.

21

S113939

BODY, rear section

1шт.

S109040

BUSHING

(Not illustrated)

2шт.

22

86637932

JAM NUT,Jam, 5/8"-18, G5

NUT - 5/8" - 18 NF

8шт.

23

S98714

WASHER

flat - 5/8"

8шт.

24

S108898

STUD

8шт.

25

211-101

BALL,1/4" Dia, Stainless

2шт.

26

S113941

KIT, rear drive gear

1шт.

27

NSS

NOT SOLD SEPARAT

GEAR, idler (Rear)

1шт.

28

NSS

NOT SOLD SEPARAT

GEAR, drive (Rear)

1шт.

29

S113599

BALL

1шт.

30

13-1024

BOLT,Hex, 5/8" - 11 x 1-1/2", Gr 5, Full Thd

(Mounts pump to engine) Hex, 5/8"-11 x 1 1/2", G5, Full Thd

2шт.

31

196-20

WASHER,41/64" x 1.047" x .134", HDN

flat - 5/8"

2шт.

32

S113934

KIT

seal (Consists of items 3 and 5)

1шт.

33

S109083

KIT

pressure balance (Consists of items 5 thru 8, 16 and 17)

1шт.

34

S236846

KIT, front section (Consists of items 2 thru 10, 13 thru 16 and 19 and 20)

1шт.

35

S236847

KIT, rear section (Consists of items 6 thru 9, 13, 15 thru 21, 25 and 26)

1шт.

Выбрано товаров: 0