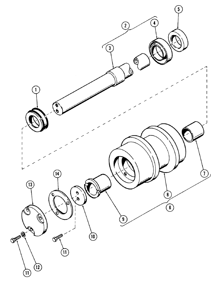
Запчасти Case 40 (056) - DOUBLE FLANGE TRACK ROLLER (48) - TRACKS & TRACK SUSPENSION

Схема запчастей Case 40 - (056) - DOUBLE FLANGE TRACK ROLLER (48) - TRACKS & TRACK SUSPENSION
FIT
1:1
100%

Артикул

Название

Примечание

Количество

S233033

ROLLER

double flange track - Includes: Ref. 1 - 14

4шт.

VERIFY: Prior to ordering internal replacement parts, further identification is required. Check roller for manufacturer's stamping. If large letter "I" appears order from Figure 56. For rollers not stamped with the letter "I" order from Figure 58.

1шт.

1

R33607

SEAL

1шт.

2

S115319

SHAFT

ASSEMBLY, Includes: Ref. 3 and 4

1шт.

3

S115320

SHAFT

1шт.

4

R33962

RETAINER

SLEEVE

1шт.

5

S115322

SPACER

1шт.

6

S115317

ROLLER

SHELL ASSEMBLY, Includes: Ref. 7 - 9

1шт.

7

R33958

BUSHING

1шт.

8

S115318

SHELL

roller

1шт.

9

R33951

BUSHING

roller

1шт.

10

R33960

PLATE

WASHER, thrust

1шт.

11

813-10020

BOLT,Hex, M10 x 1.5 x 20mm, Cl 8.8, Full Thd

5шт.

12

D32117

COPPER WASHER

WASHER, COPPER, Lock

3шт.

13

R33959

CYLINDER END CAP

COVER

1шт.

14

R33964

GASKET

1шт.

Выбрано товаров: 16