Запчасти Case 40 (094) - CAB (90) - PLATFORM, CAB, BODYWORK AND DECALS

Схема запчастей Case 40 - (094) - CAB (90) - PLATFORM, CAB, BODYWORK AND DECALS
FIT
1:1
100%

Артикул

Название

Примечание

Количество

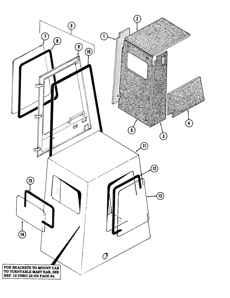
S956135

CAB

ASSY, Includes: Ref. 1 - 15

1шт.

1

S239736

INSULATOR

INSULATION - left side

1шт.

2

S239738

INSULATOR

INSULATION - top

1шт.

3

S239735

INSULATION - right rear

1шт.

4

S239737

INSULATOR

INSULATION - right front

1шт.

5

S515091

INSULATION - rear

1шт.

6

S956346

DOOR ASSY.

DOOR ASSY (See Figure 96), Includes: Ref. 7 - 10

1шт.

7

S515043

GLASS - door

1шт.

8

REF

INSTRUCTION

SEAL - 77" long - cut from S118468

1шт.

9

REF

INSTRUCTION

DOOR - (See Ref. 1 on Figure 96)

1шт.

10

REF

INSTRUCTION

SEAL - 202" long - cut from S118476

1шт.

11

NSS

NOT SOLD SEPARAT

CAB - Order S956135 cab assy

1шт.

12

REF

INSTRUCTION

SEAL - 163" long - cut from S118468

1шт.

13

S515028

GLASS - right

1шт.

14

S239683

GLASS - rear

1шт.

15

REF

INSTRUCTION

SEAL - 83.3" long - cut from S118477

1шт.

S118468

SEAL

- 360" long

1шт.

S118476

RUBBER JOINT

SEAL - 600" long

1шт.

S118477

SEAL

- 600" long

1шт.

Выбрано товаров: 19