Запчасти Case 40 (062) - FINAL DRIVE TRANSMISSION (14) - MAIN GEARBOX & DRIVE

Схема запчастей Case 40 - (062) - FINAL DRIVE TRANSMISSION (14) - MAIN GEARBOX & DRIVE
FIT
1:1
100%

Артикул

Название

Примечание

Количество

S611014

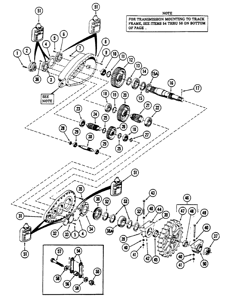
TRANSMISSION, final drive, Includes: Ref. 1 - 27

2шт.

1

61-820

HEX SOC SCREW,1/2"-13 x 1 1/4"

BOLT - 1/2" NC x 1-1/4" Gr 8 - (Hexagon socket head)

3шт.

2

S510345

ADAPTER

brake

1шт.

3

S510347

COVER

bearing

1шт.

4

S507593

COVER

bearing

2шт.

5

61-616

HEX SOC SCREW,3/8"-16 x 1"

BOLT - 3/8" NC x 1" Gr 8 - (Hexagon socket head)

47шт.

6

S507599

COVER

bearing

1шт.

7

221-845

PLUG,Hex Soc, 3/4"-14

pipe - 3/4" NPT male - (Drain and fill)

4шт.

8

S953541

HOUSING

transmission

1шт.

9

S65037

DOWEL

PIN, dowel - 5/8" diameter

2шт.

10

D40192

BALL BEARING

BEARING

2шт.

11

S96948

SNAP RING,#375, Ext

RING, retaining - 3-7/16"

1шт.

12

S605267

GEAR

output

1шт.

13

S95494

SPACER

1шт.

14

S96220

BALL BEARING,100 mm ID x 180 mm OD x 34 mm

BEARING

1шт.

15

S96168

SEAL

oil

1шт.

15a

S235141

SEAL

dirt

1шт.

16

S605277

SHAFT

output

1шт.

17

138-186

LOCK PIN,3/8" x 4", Slotted

PIN, 3/8" x 4", Slotted

1шт.

18

S96216

BEARING, ROLLER, CYL,65mm ID x 140mm OD x 33mm

BEARING

1шт.

19

S96949

SNAP RING,#387, Ext

RING, retaining - 3-9/16"

1шт.

20

S605269

GEAR

intermediate output

1шт.

21

S605268

SHAFT

intermediate output

1шт.

22

S96217

BEARING, ROLLER, CYL,70mm ID x 150mm OD x 35mm

BEARING

1шт.

23

S96215

BEARING, ROLLER, CYL,50mm ID x 110mm OD x 27mm

BEARING

1шт.

24

S605270

SHAFT

intermediate output

1шт.

25

F11296

SNAP RING,#300, Ext

RING, retaining - 2-3/4"

2шт.

26

S605271

GEAR

input

1шт.

27

100-11196

SNAP RING,#196, Ext

RING, retaining - 1-13/16"

1шт.

28

S96159

SEAL

input shaft

1шт.

29

S96214

BEARING, ROLLER, CYL,35mm ID x 80mm OD x 21mm

BEARING

2шт.

30

S605276

SHAFT

input

1шт.

31

S953542

COVER

transmission

1шт.

32

S507597

COVER

bearing

1шт.

33

S507595

COVER

bearing

1шт.

34

S512872

COVER

bearing

1шт.

35

61-828

HEX SOC SCREW,1/2"-13 x 1 3/4"

BOLT - 1/2" NC x 1-3/4" Gr 8 - (Hexagon socket head)

26шт.

36

61-616

HEX SOC SCREW,3/8"-16 x 1"

BOLT - 3/8" NC x 1" Gr 8 (Hexagon socket head)

6шт.

37

25-1340

SLOTTED NUT,2 1/2"-12, G5

NUT, castle - 2-1/2" NF

1шт.

38

S97173

RETAINER

seal

1шт.

38a

S97820

SPHERICAL BEARING,100mm ID x 180mm OD x 46mm W

BEARING, spherical

1шт.

39

83-47

SET SCREW,Hex Soc, 1/4"-20 x 7/16"

SCREW, set - 1/4" NC x 7/16"

2шт.

40

S94643

WASHER,19.43mm ID x 38.1mm OD x 6.35mm Thk

hardened flat - 3/4"

8шт.

41

131-450

NUT,3/4"-10

NUT, self locking - 3/4" NC

4шт.

42

219-1

LUBE NIPPLE,1/8" - 27 NPTF

FITTING, grease - 1/8" NPT straight

1шт.

43

26-12144

BOLT,Hex, 3/4" - 10 x 9", Gr 8

- 3/4" NC x 9" Gr 8

2шт.

44

S507983

HOUSING

1шт.

45

S95495

SPACER

1шт.

46

S512195

SPROCKET ASSY.

SPROCKET ASSEMBLY, Includes: Ref. 47 and 48

1шт.

47

NSS

NOT SOLD SEPARAT

SPROCKET - (Order S512195)

1шт.

48

S95493

SPACER

BUSHING

1шт.

49

26-1268

BOLT,Hex, 3/4" - 10 x 4-1/4", Gr 8

- 3/4" NC x 4-1/4" Gr 8

2шт.

50

S212544

BEARING CARRIER

BLOCK, pillow

1шт.

51

B17423

LOCTITE

- 10 cc bottle - (Red) - (Used in place of gaskets, substitutes must not be used)

1шт.

52

S235141

SEAL

dirt

2шт.

53

S235140

SEAL

grease - (With spring) - (If replacement is required order item 52, S235141 dirt seal in addition)

2шт.

54

S223205

LINK

2шт.

55

131-82

NUT,1"-8

NUT, self locking - 1" NC

2шт.

56

S116289

SPACER

1шт.

57

113-903

BOLT,Hex, 1" - 8 x 4-1/2", Gr 5

2шт.

58

195-53

WASHER,1" x 2" x .134"

flat - 1"

4шт.

Выбрано товаров: 61