Запчасти Case 40 (150) - INNER SWIVEL, (USED WITH TRACK BRAKE AND TWO SPEED DRIVE) (35) - HYDRAULIC SYSTEMS

Схема запчастей Case 40 - (150) - INNER SWIVEL, (USED WITH TRACK BRAKE AND TWO SPEED DRIVE) (35) - HYDRAULIC SYSTEMS
FIT
1:1
100%

Артикул

Название

Примечание

Количество

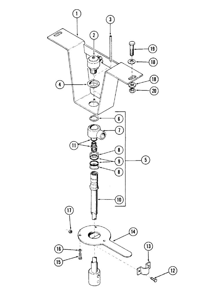
S612193

PIVOT

SWIVEL ASSEMBLY - inner, Includes: Ref. 1 - 10

1шт.

1

S234874

BRACKET

1шт.

2

REF

INSTRUCTION

SWIVEL - (For breakdown, see Figure 152)

1шт.

3

138-169

LOCK PIN,5/16" x 4", Slotted

Pin, 5/16" x 4", Slotted

2шт.

4

S71802

NYLON BEARING,0.756" ID x 1.187" OD x 0.375"

BEARING - nylon

1шт.

5

S229478

SWIVEL CONNECTION

SWIVEL - inner, Includes: Ref. 6 - 10

1шт.

6

C13513

RING

- retaining

1шт.

7

S111313

SLEEVE

- swivel

1шт.

8

A35698

BACK-UP RING

RING - back up

2шт.

9

S6480

O-RING,0.737" ID x 0.943" OD x 0.103"

- .737" ID x .939" OD

2шт.

10

S229479

TUBE,0.746" OD x 23.05" L

ASSEMBLY - inner swivel

1шт.

11

S95069

FITTING

CONNECTOR - (3/8" tube) - 7/16" - 20 male x 9/16" - 18 male - 37 degree flared

1шт.

218-5003

O-RING,0.072" Thk x 0.351" ID, -904, Cl 6, 90 Duro

1шт.

12

113-104

BOLT,Hex, 5/16" - 18 x 1-1/4", Gr 5

2шт.

13

S85438

CLAMP

1шт.

14

S237399

LARGE PLATE

PLATE - lower swivel mounting

1шт.

15

113-103

BOLT,Hex, 5/16" - 18 x 1", Gr 5

3шт.

16

192-20

LOCK WASHER,Helical Spring, 0.318" ID, CST, ZND

WASHER, LOCK, 5/16"

3шт.

17

131-176

LOCK NUT,Prev Torque, Hex, 5/16" - 18, Gr A

NUT - self locking, 5/16" NC

2шт.

18

195-104

WASHER,3/8"

- flat, 3/8"

4шт.

19

113-208

BOLT,Hex, 3/8" - 16 x 1-1/4", Gr 5

2шт.

20

131-52

NUT,3/8"-16, GC

NUT - self locking, 3/8" NC

2шт.

Выбрано товаров: 22