Запчасти Case 40BLC (164) - 24" FELLER BUNCHER HYDRAULICS (07) - HYDRAULIC SYSTEM

Схема запчастей Case 40BLC - (164) - 24" FELLER BUNCHER HYDRAULICS (07) - HYDRAULIC SYSTEM
FIT
1:1
100%

Артикул

Название

Примечание

Количество

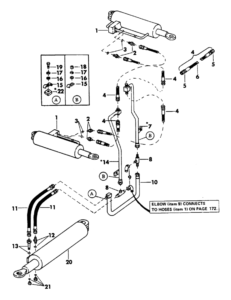
1

CYLINDER, grab arm - (For breakdown, see page 218)

2шт.

2

S7967

CONNECTOR, ELEC

CONNECTOR - (5/8" tube) - 1-1/16" - 12 male x 7/8" - 14 male - 37 degree flared - (Includes item 3)

4шт.

3

S6065

RING

"O" RING - .924" ID x 1.156" OD

4шт.

4

S89942

HOSE

high pressure - 1/2" ID x 50" long - (Consists of items 5 & 6)

4шт.

5

220-204

FITTING

COUPLING, reusable - (1/2" ID hose) - 7/8" - 14 female - 37 degree flared

8шт.

6

S28462

HOSE

low pressure - (Bulk) - 4 pieces - 1/2" ID x 47" long

1шт.

7

S217847

LINE, hydraulic 1.25" OD

1шт.

8

218-598

TEE,1 5/16"-12 37 Degree

- (1" tube) - 1-5/16" - 12 male x 1-5/16" - 12 male x 1-5/16" - 12 male - 37 degree flared

2шт.

9

218-5234

ELBOW,90 Degree, 1 5/16"-12, 37 Degree x 1 5/16"-12, 37 Degree Fem Sw

90 degree swivel - (1" tube) - 1-5/16" - 12 male x 1-5/16" - 12 female - 37 degree flared

2шт.

10

S217848

TUBE ASSY.,1.25" OD

LINE, hydraulic

1шт.

11

S8628

HOSE

high pressure - 1" ID x 36" long - (With 1-5/16" - 12 female pressed on couplings)

2шт.

12

S7972

CONNECTOR, ELEC

CONNECTOR - (1" tube) - 1-5/16" - 12 male x 1-5/16" - 12 male - 37 degree flared - (Includes "o" ring)

1шт.

S6069

O-RING,1.171" ID x 0.116" Width

"O" RING - 1.171" ID x 1.403" OD

1шт.

13

S66480

CONNECTOR, ELEC

CONNECTOR, long - (1" tube) - 1-5/16" - 12 male x 1-5/16" - 12 male - 37 degree flared - (Includes "o" ring)

1шт.

S6069

O-RING,1.171" ID x 0.116" Width

"O" RING - 1.171" ID x 1.403" OD

1шт.

14

S217846

LINE, hydraulic 1.25" OD

1шт.

15

S77324

CLAMP

5шт.

16

196-15

WASHER,17/32" x 1 1/6" x .134"

flat - 1/2" - (Supersedes S7392)

5шт.

Change in listing

1шт.

17

192-23

LOCK WASHER,1/2"

WASHER, LOCK, 1/2"

3шт.

18

131-70

NUT,1/2"-13, GB

NUT, self locking - 1/2" NC

5шт.

19

113-412

BOLT,Hex, 1/2" - 13 x 1-3/4", Gr 5

(Supersedes S2466) Hex, 1/2"-13 x 1 3/4", G5

3шт.

Change in listing

1шт.

20

CYLINDER, shear arm - (For breakdown, see page 214)

1шт.

21

S8985

PLUG

- (1" tube) - 1-5/16" - 12 male - (Includes "o" ring)

2шт.

S6069

O-RING,1.171" ID x 0.116" Width

"O" RING - 1.171" ID x 1.403" OD

2шт.

22

S85564

SPACER

3шт.

Added listing

1шт.

Выбрано товаров: 28