Запчасти Case 40BLC (192) - LOWER TRACK DRIVE MOTOR TUBINGS AND DRAIN (07) - HYDRAULIC SYSTEM

Схема запчастей Case 40BLC - (192) - LOWER TRACK DRIVE MOTOR TUBINGS AND DRAIN (07) - HYDRAULIC SYSTEM
FIT
1:1
100%

Артикул

Название

Примечание

Количество

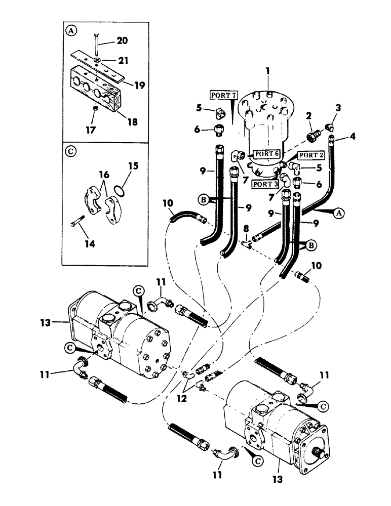
1

SWIVEL, 7-port hydraulic - (For breakdown, see page 224)

1шт.

2

S114961

ADAPTER

1шт.

3

218-980

ELBOW,90 Degree, 9/16"-18, 37 Degree x 9/16"-18, 37 Degree Fem Sw

90 degree swivel - (3/8" tube) - 9/16" - 18 male x 9/16" - 18 female - 37 degree flared

1шт.

4

S227396

HOSE ASSY.

HOSE, high pressure - 3/8" ID x 50" long - (With 9/16" - 18 female pressed on couplings)

1шт.

5

218-5231

ELBOW,90 Degree, 1 1/16"-12, 37 Degree x 1 1/16"-12, 37 Degree Fem Sw

90 degree swivel - (3/4" tube) - 1-1/16" - 12 male x 1-1/16" - 12 female - 37 degree flared

2шт.

6

218-728

REDUCER,37 Degree, 1 1/16"-12, Fem x 1 5/16"-12 Male

ADAPTER - (3/4" tube) - 1-1/16" - 12 female x 2-5/16" - 16 male - 37 degree flared

2шт.

7

218-5234

ELBOW,90 Degree, 1 5/16"-12, 37 Degree x 1 5/16"-12, 37 Degree Fem Sw

90 degree swivel - (1" tube) - 1-5/16" - 12 male x 1-5/16" - 12 female - 37 degree flared

2шт.

8

218-593

TEE,9/16"-18, 37 Degree

- (3/8" tube) - 9/16" - 18 male x 9/16" - 18 male x 9/16" - 18 male - 37 degree flared

1шт.

9

S401534

HOSE ASSY.

HOSE, high pressure - 1" ID x 66" long - (With 1-5/16" - 12 female pressed on couplings)

4шт.

10

S227395

HOSE

high pressure - 3/8" ID x 21" long - (With 9/16" - 18 female pressed on couplings)

2шт.

11

S234440

ELBOW

TUBE, hydraulic

2шт.

12

76344

90 ELBOW,9/16" - 18 JIC x 9/16" - 18 ORB

TUBE, hydraulic

2шт.

S6059

O-RING,0.078" Thk x 0.468" ID, -906, Cl 6, 90 Duro

"O" RING

2шт.

13

MOTOR, track drive - (For breakdown, see page 238)

2шт.

14

113-410

BOLT,Hex, 1/2" - 13 x 1-1/2", Gr 5, Full Thd

16шт.

15

S96800

"O" RING

4шт.

16

A14157

FLANGE

CLAMP, half flange

8шт.

17

129-105

NUT,Hex, 1/2" - 13, Gr 5

3шт.

18

S209695

BLOCK

CLAMP, wood

1шт.

19

S79724

BAR

1шт.

20

113-411

BOLT,Hex, 1/2" - 13 x 4-1/2", Gr 5

2шт.

113-429

BOLT,Hex, 1/2" - 13 x 5", Gr 5

1шт.

21

192-23

LOCK WASHER,1/2"

WASHER, LOCK, 1/2"

3шт.

Выбрано товаров: 23