Запчасти Case 40BLC (194) - OPTIONAL TWO SPEED DRIVE TUBINGS (07) - HYDRAULIC SYSTEM

Схема запчастей Case 40BLC - (194) - OPTIONAL TWO SPEED DRIVE TUBINGS (07) - HYDRAULIC SYSTEM
FIT
1:1
100%

Артикул

Название

Примечание

Количество

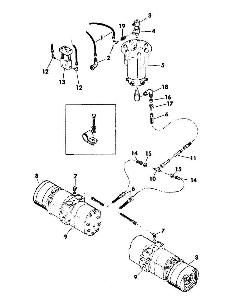
1

S77121

HOSE

high pressure - 1/4" ID x 20" long - (With 9/16" - 18 female pressed on couplings)

2шт.

2

218-980

ELBOW,90 Degree, 9/16"-18, 37 Degree x 9/16"-18, 37 Degree Fem Sw

90 degree swivel - (3/8" tube) - 9/16" - 18 male x 9/16" - 18 female - 37 degree flared

2шт.

3

SWIVEL, service - (For breakdown, see page 131)

1шт.

4

SWIVEL, inner - (For breakdown, see page 128)

1шт.

5

SWIVEL, 7 port hydraulic - (For breakdown, see page 224)

1шт.

6

S77467

HOSE

high pressure - 1/4" ID x 38" long - (With 1/4" - 7 female pressed on couplings)

3шт.

7

76344

90 ELBOW,9/16" - 18 JIC x 9/16" - 18 ORB

(3/8" tube) 90º, 9/16"-18, 37º x 9/16"-18, O-Ring

2шт.

8

BRAKE, track - (For breakdown, see page 140)

2шт.

9

MOTOR, track drive - (For breakdown, see page 238)

2шт.

10

218-594

TEE,3/4"-16, 37 Degree

- (1/2" tube) - 3/4" - 16 male x 3/4" - 16 male x 3/4" - 16 male - 37 degree flared

1шт.

11

S211650

TUBE, hydraulic 0.5" OD x 17.5" L

1шт.

12

218-1053

ELBOW,90 Degree, 9/16"-18, 37 Degree x 3/8"-18, NPTF

90 degree - (3/8" tube) - 9/16" - 18 male x 3/8" NPT male - 37 degree flared

2шт.

13

VALVE, hi-low range solenoid - (For breakdown, see page 254)

1шт.

14

218-790

REDUCER,37 Degree, 3/8" x 1/4" Tube

ADAPTER, reducer - (1/4" tube) - 7/16" - 20 male - 37 degree flared

2шт.

15

218-343

TUBE NUT,37 Degree, 9/16"-18, Type B

NUT, tube - 9/16" - 18 female

2шт.

16

218-344

TUBE NUT,37 Degree, 3/4"-16, Type B

NUT, tube - 3/4" - 16 female

1шт.

17

218-791

REDUCER,37 Degree, 1/2" x 1/4" Tube

ADAPTER, reducer - (1/4" tube) - 7/16" - 20 male - 37 degree flared

1шт.

18

218-481

ELBOW,90 Degree Elbow, 7/16" - 20 Male JIC x 1/8" - 27 Male NPTF

90 degree - (1/4" tube) - 7/16" - 20 male x 1/8" NPTF - 37 degree flared

1шт.

19

S95069

FITTING

CONNECTOR - (3/8" tube) - 7/16" - 20 male x 9/16" - 18 male - 37 degree flared

1шт.

Выбрано товаров: 19