Запчасти Case 40BLC (198) - DRAIN HYDRAULICS (07) - HYDRAULIC SYSTEM

Схема запчастей Case 40BLC - (198) - DRAIN HYDRAULICS (07) - HYDRAULIC SYSTEM
FIT
1:1
100%

Артикул

Название

Примечание

Количество

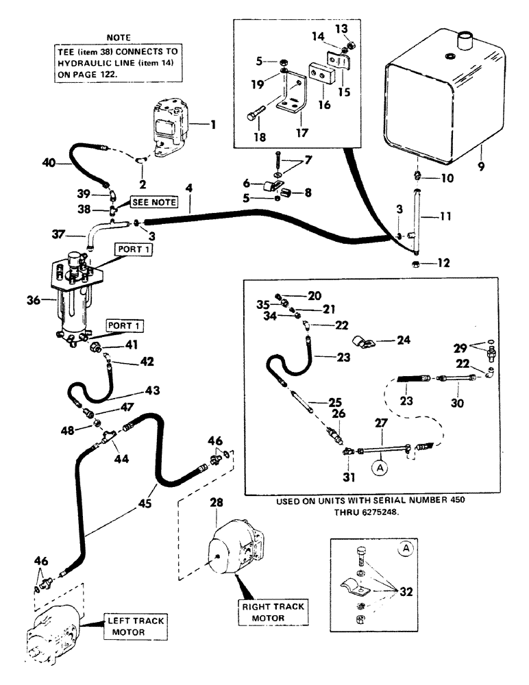
1

MOTOR, swing - (For breakdown, see page 231) - (Used on standard gauge track units only)

1шт.

MOTOR, swing - (For breakdown, see page 232) - (Used on wide gauge track units only)

1шт.

2

218-533

ELBOW,45 Degree, 9/16-18" 37 Degree x 1/4"-18, NPTF

(3/8" tube) 45º, 9/16-18" 37º x 1/4"-18, NPTF

1шт.

3

214-378

CLAMP,1.40"-1.56", T-Bolt

hose

2шт.

4

S202581

HYDRAULIC HOSE,1.00" ID Bulk, SAE 100R3

- Low pressure, 65" long 1.00" ID Bulk, SAE 100R3

1шт.

5

131-70

NUT,1/2"-13, GB

NUT, self locking - 1/2" NC

1шт.

6

S87573

CLAMP

hose

1шт.

7

113-412

BOLT,Hex, 1/2" - 13 x 1-3/4", Gr 5

1шт.

196-15

WASHER,17/32" x 1 1/6" x .134"

flat - 1/2"

2шт.

8

S86502

RING

compression

1шт.

9

RESERVOIR, hydraulic oil - (For breakdown, see page 224)

1шт.

10

218-459

HYD CONNECTOR,1-5/16" - 12 Male JIC x 3/4" - 14 Male NPTF

ADAPTER - (1" tube) - 1-5/16" - 12 male x 3/4" - 11 NPT male - 37 degree flared

1шт.

11

S506626

LINE, hydraulic - (Used on units with Detroit Diesel 4-71 engine) 1" OD x 15, 3" L

1шт.

S506630

LINE, hydraulic - (Used on units with Case 504BD diesel engine) 1" OD x 20.75, 2.38" L

1шт.

12

218-758

CAP,37 Degree, 1 5/16"-12

- (1" tube) - 1-5/16" - 12 female - 37 degree flared

1шт.

13

131-52

NUT,3/8"-16, GC

NUT, self locking - 3/8" NC

1шт.

14

195-103

WASHER,5/16"

flat - 3/8"

1шт.

15

L32065

CLAMP

tube

1шт.

16

S79936

BLOCK, spacer

1шт.

17

S92081

BRACKET

ANGLE

1шт.

18

113-219

BOLT,Hex, 3/8" - 16 x 2", Gr 5

1шт.

19

195-105

WASHER,7/16"

flat - 1/2"

2шт.

20

218-797

REDUCER,37 Degree, 1" x 3/4" Tube

ADAPTER, reducing - (1" to 3/4" tube reduction) - 1-1/16" - 12 male - 37 degree flared

1шт.

21

218-796

REDUCER,37 Degree, 5/8" x 3/8" Tube

ADAPTER, reducing - (3/4" to 1/2" tube reduction) - 3/4" - 16 male - 37 degree flared

1шт.

22

218-5230

ELBOW,90 Degree, 3/4"-16, 37 Degree x 3/4"-16, 37 Degree Fem Sw

90 degree swivel - (1/2" tube) - 3/4" - 16 male x 3/4" - 16 female - 37 degree flared

3шт.

23

S11230

HOSE

high pressure - 3/8" ID x 28" long - (With 3/4" - 16 female pressed on couplings)

3шт.

24

S77324

CLAMP

tube

1шт.

25

S209700

LINE, hydraulic - (Used on standard gauge track units only) 0.5" OD x 12" L

1шт.

S211650

LINE, hydraulic - (Used on wide gauge track units only) 0.5" OD x 17.5" L

1шт.

26

VALVE, check - (For breakdown, see page 246)

1шт.

27

S211643

LINE, hydraulic - (Used on wide gauge track units only) 0.5" OD x 13.5" L

1шт.

28

MOTOR, track drive - (For breakdown, see page 232) - (Used on units with serial number 450 thru 882) - (Not illustrated)

2шт.

MOTOR, track drive - (For breakdown, see page 236) - (Used on units with serial number 883 and after) - (Illustrated)

2шт.

Change in listing

1шт.

29

218-455

HYD CONNECTOR,3/4" - 16 Male JIC x 1/4" - 18 Male NPTF

ADAPTER - (1/2" tube) - 3/4" - 16 male x 1/4" NPT male - 37 degree flared - (Used on units with serial number 450 thru 882) - (Not illustrated)

2шт.

218-5351

HYD CONNECTOR,3/4"-16, 37 Degree x 9/16"-18, O-Ring

CONNECTOR - (1/2" tube) - 3/4" - 16 male x 9/16" - 18 male - 37 degree flared - (Includes "O" ring) - (Used on units with serial number 883 and after) - (Illustrated)

2шт.

S6059

O-RING,0.078" Thk x 0.468" ID, -906, Cl 6, 90 Duro

"O" RING - .468" ID x .624" OD - (Used on units with serial number 883 and after) - (Illustrated)

2шт.

30

S206892

LINE, hydraulic - (Used on wide gauge track units only) 0.5" OD x 5" L

2шт.

31

218-840

TEE,37 Degree, 3/4"-16 x 3/4"-16, Fem Sw Br

- (1/2" tube) - 3/4" - 16 male x 3/4" - 16 male x 3/4" - 16 male - 37 degree flared

1шт.

32

S79585

CLAMP

tube - (Used on wide gauge track units only)

2шт.

113-208

BOLT,Hex, 3/8" - 16 x 1-1/4", Gr 5

2шт.

195-525

WASHER,3/8", SAE

flat - 3/8"

2шт.

195-21

WASHER,5/16"

lock - 3/8"

2шт.

129-103

NUT,Hex, 3/8" - 16, Gr 5

NUT, 3/8"-16, G5

2шт.

33

S211644

LINE, hydraulic - (Used on wide gauge track units only) 0.5" OD x 11.5" L

1шт.

34

218-346

TUBE NUT,37 Degree, 1 1/16"-12, Type B

NUT, tube - (3/4" tube) - 1-1/16" - 12 female - 37 degree flared

1шт.

35

218-348

TUBE NUT,37 Degree, 1 5/16"-12, Type B

NUT, tube - (1" tube) - 1-5/16" - 12 female - 37 degree flared

1шт.

36

SWIVEL, 7-port hydraulic - (For breakdown, see page 224)

1шт.

37

S229693

TUBE,1" OD x 3, 3.75" L

LINE, hydraulic - (Supersedes S220252)

1шт.

38

218-5222

TEE,37 Degree, 9/16"-18, x 9/16"-18, Fem Sw Run

swivel - (3/8" tube) - 9/16" - 18 male x 9/16" - 18 female x 9/16" - 18 male - 37 degree flared

1шт.

39

218-5167

ELBOW, 45 degree swivel - (3/8" tube) - 9/16" - 18 male x 9/16" - 18 female - 37 degree flared

1шт.

40

S77121

HOSE

high pressure - 1/4" ID x 20" long - (With 9/16" - 18 female pressed on couplings)

1шт.

41

218-724

REDUCER,37º, 1 5/16"-12, Fem x 9/16"-18 Male

ADAPTER, reducer - (Supersedes S114961)

1шт.

Change in listing

1шт.

Added listing

1шт.

42

218-980

ELBOW,90 Degree, 9/16"-18, 37 Degree x 9/16"-18, 37 Degree Fem Sw

90 degrees - (3/8" tube) - 9/16" - 18 male x 9/16" - 18 female - 37 degree flared

1шт.

Added listing

1шт.

43

S227396

HOSE ASSY.

HOSE, high pressure - 3/8" ID x 50" long - (With 9/16" - 18 female pressed on couplings)

1шт.

Added listing

1шт.

44

S604918

TEE - (3/8" tube) - 9/16" - 18 male x 9/16" - 18 male x 9/16" - 18 male

1шт.

Added listing

1шт.

45

S11230

HOSE

high pressure - 3/8" ID x 21" long - (With 9/16" - 18 female pressed on couplings)

2шт.

Added listing

1шт.

46

218-5351

HYD CONNECTOR,3/4"-16, 37 Degree x 9/16"-18, O-Ring

CONNECTOR - (3/8" tube) - 9/16" - 18 male x 9/16" - 18 male - 37 degree flared - includes "O" ring

2шт.

Added listing

1шт.

S6059

O-RING,0.078" Thk x 0.468" ID, -906, Cl 6, 90 Duro

"O" RING

2шт.

47

218-792

REDUCER,37 Degree, 1/2" x 3/8" Tube

- (3/8" tube) - 9/16" - 18, 37 degree flared

1шт.

Added listing

1шт.

48

218-344

TUBE NUT,37 Degree, 3/4"-16, Type B

NUT - (1/2" tube) - 3/4" - 16 female

1шт.

Выбрано товаров: 69