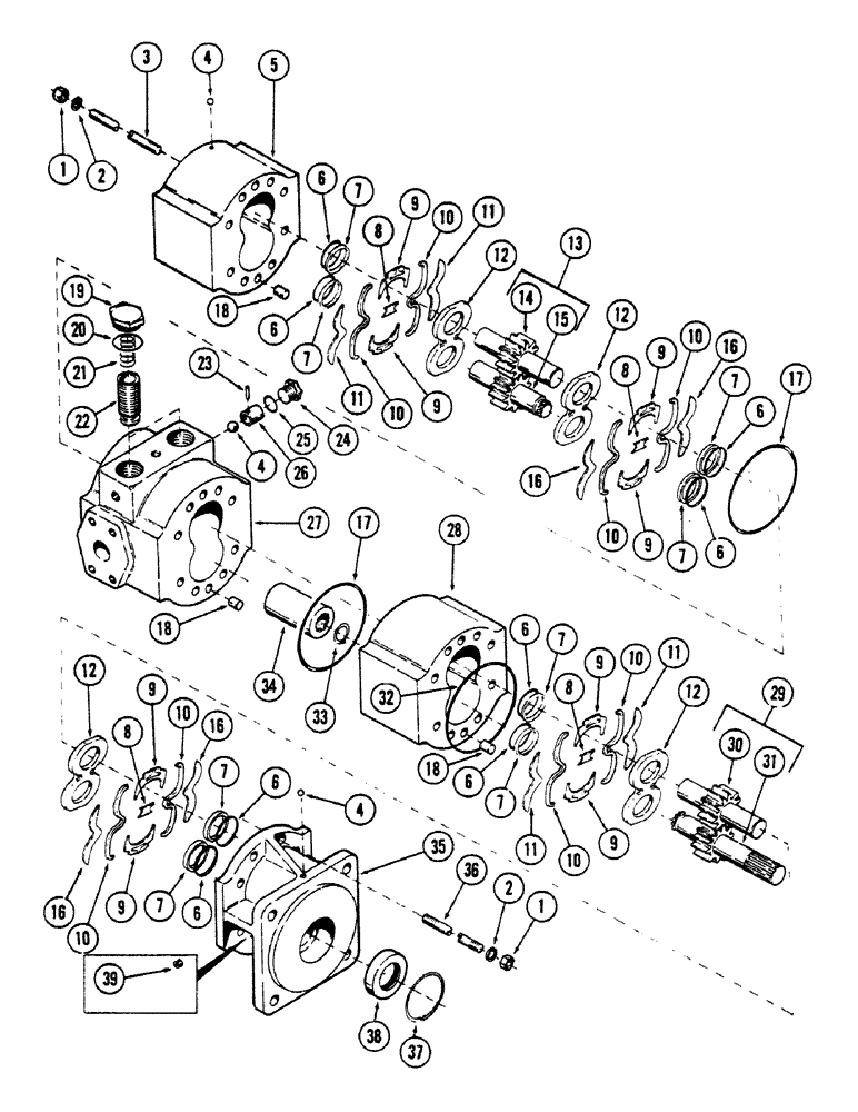
Запчасти Case 40BLC (238) - TRACK DRIVE MOTOR, (OPTIONAL TWO SPEED) (07) - HYDRAULIC SYSTEM

Схема запчастей Case 40BLC - (238) - TRACK DRIVE MOTOR, (OPTIONAL TWO SPEED) (07) - HYDRAULIC SYSTEM
FIT
1:1
100%

Артикул

Название

Примечание

Количество

S510603

MOTOR

track drive - complete - consists of items 1 thru 39

2шт.

1

L32829

NUT

12шт.

2

A39046

WASHER,13.11mm ID x 22.23mm OD x 3.34mm Thk

12шт.

3

S109072

STUD, rear section

2шт.

4

211-101

BALL,1/4" Dia, Stainless

2шт.

5

S109070

BODY

rear section - includes bushing

1шт.

L32840

BUSHING

- (Not illustrated)

2шт.

6

S113612

O-RING

"O" RING

8шт.

7

S113607

OIL SEAL

RING, back up

8шт.

8

S113609

SEPARATOR

center

4шт.

9

S113608

SEPARATOR

end

8шт.

10

S108887

STRAP

STRIP, sealing

8шт.

11

S108884

LARGE PLATE

PLATE, isolation - (Bottom)

4шт.

12

S98638

PLATE

pressure

4шт.

13

S109081

KIT

rear gear - consists of items 14 and 15

1шт.

14

NSS

NOT SOLD SEPARAT

GEAR, idler

1шт.

15

NSS

NOT SOLD SEPARAT

GEAR, drive

1шт.

16

S108885

LARGE PLATE

PLATE, isolation - (Top)

4шт.

17

S113611

O-RING

"O" RING

4шт.

18

D41414

PIN

DOWEL

6шт.

19

218-5161

PLUG,Hex Hd, 1 5/8"-12 ORB

2шт.

20

218-5011

O-RING,0.118" Thk x 1.475" ID, -920, Cl 6, 90 Duro

"O" RING

2шт.

21

S98718

SPRING

2шт.

22

S109075

PISTON

2шт.

23

S5258

PIN, roll

3шт.

24

76349

PLUG,9/16" - 18 ORB

2шт.

25

S98647

"O" RING

2шт.

26

S98720

SEAT

2шт.

27

S109074

PLATE, bearing - includes bushing

1шт.

L32840

BUSHING

- (Not illustrated)

2шт.

28

S114287

BODY, front section - includes bushing

1шт.

L32480

BUSHING

- (Not illustrated)

2шт.

29

S109080

GEAR

KIT, front gear - consists of items 30 and 31

1шт.

30

NSS

NOT SOLD SEPARAT

GEAR, idler

1шт.

31

NSS

NOT SOLD SEPARAT

GEAR, drive

1шт.

32

S113610

O-RING

"O" RING

1шт.

33

A36277

SNAP RING,1.125", Int, #112

3шт.

34

S109076

COUPLING

spline

1шт.

35

S109073

FLANGE

mounting - includes bushing

1шт.

L32840

BUSHING

- (Not illustrated)

2шт.

36

S114289

STUD, front section

8шт.

37

D41419

RING

snap

1шт.

38

S98646

SEAL

1шт.

39

L35776

PLUG

seal drain

2шт.

40

S236473

KIT

seal - (Consists of items 7, 8, 9, 10, 17, 20, 25, 32 and 38)

1шт.

Выбрано товаров: 45