Запчасти Case 40BLC (304) - DRIVE MECHANISM, (USED WITH ROTARY CUTTER) (18) - ATTACHMENT ACCESSORIES

Схема запчастей Case 40BLC - (304) - DRIVE MECHANISM, (USED WITH ROTARY CUTTER) (18) - ATTACHMENT ACCESSORIES
FIT
1:1
100%

Артикул

Название

Примечание

Количество

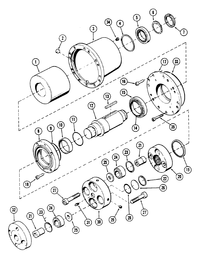
S609761

KIT

MECHANISM, drive

1шт.

1

S609707

FLYWHEEL

1шт.

2

S7874

PLUG

pipe - 1/2" NPT

2шт.

3

S609676

HOUSING ASSY.

HOUSING

1шт.

4

S105629

RING, SNAP

1шт.

5

S65026

BEARING ASSY

BEARING

1шт.

6

S105666

WASHER, lock

1шт.

7

S105665

NUT, lock

1шт.

8

S609786

RETAINER, seal

1шт.

9

S6352

O-RING,6.984" ID x 7.262" OD x 0.139"

"O" RING - .6984" ID x 7.250 OD

1шт.

10

S230016

BUSHING

1шт.

11

S6328

O-RING,0.139" Thk x 3.484" ID, -238, Cl 5, 75 Duro

"O" RING - 3.48" ID x 3.750" OD

1шт.

12

S610500

SHAFT

1шт.

13

S106636

KEY

1шт.

14

S75384

ROLLER BEARING

CONE, bearing

1шт.

15

S75385

CUP

bearing

1шт.

16

S3544

SCREW, socket head - 1/2" NC x 1-1/2" gr 8

4шт.

17

S609703

ADAPTER

1шт.

18

S3543

CAPSCREW

SCREW, socket head - 1/2" NC x 1-1/4" gr 8

4шт.

19

S109783

OIL SEAL

SEAL, oil

1шт.

20

S610501

FLANGE

1шт.

21

S230015

BUSHING

4шт.

22

S105671

RING, SNAP

1шт.

23

S105672

RING, SNAP

4шт.

24

S229376

SPHERICAL BEARING,44.44mm ID x 71.44mm OD x 38.89mm W

BUSHING

4шт.

25

S106634

WASHER

4шт.

26

S106633

PLUG

1шт.

27

S3609

SCREW, socket head - 1" NC x 4" gr 8

4шт.

28

S18497

"O" RING - 2.109" ID x 2.375" OD

1шт.

29

S7872

PLUG

pipe - 1/8" NPT

4шт.

30

S609788

ADAPTER

1шт.

31

S18625

FITTING

grease - 1/4" NPT

1шт.

32

S609789

FLANGE

1шт.

33

S5870

O-RING,11.484" ID x 11.762" OD x 0.139"

"O" RING - 11.484" ID x 11.750" OD

1шт.

34

S222087

BREATHER

VENT

1шт.

35

S3548

SCREW

socket head - 1/2" NC x 2-1/2" gr 8 - (Mounts drive mechanism to rotary cutter arm)

8шт.

Выбрано товаров: 36