Качественные детали и логистика
Оригинальные и аналоговые запчасти с доставкой по России, Казахстану и Беларуси
©2022 PartSell ООО "Система" ИНН 2463123282 ОГРН 1212400004838
Центральный офис: г. Красноярск, Академика Киренского, д.87, пом.4
Телефон: 8 (800) 777-65-74 Email: zakaz@partsell.ru
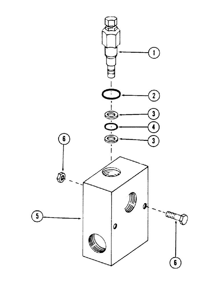
(346) - RELIEF VALVE, (USED WITH ROTARY CUTTER)
№
Артикул
Название
Примечание
Количество
S233922
VALVE
relief
1шт.
1
S93027
CARTRIDGE
relief valve - (Set at 2700 PSI)
2
S91390
RING,0.139" Thk x 0.796" ID, -211, Cl 6, 90 Duro
"O" RING
3
S91392
RING, teflon back-up
2шт.
4
S91391
O-RING
5
NSS
NOT SOLD SEPARAT
BODY
6
S2409
BOLT
CPSW - 3/8" NC x 3" gr 5
S17167
INSTRUCTION
NUT, self locking - 3/8" NC
Выбрано товаров: 0