Запчасти Case 40BLC (024) - DOUBLE FLANGE TRACK ROLLER, TYPE C (04) - UNDERCARRIAGE

Схема запчастей Case 40BLC - (024) - DOUBLE FLANGE TRACK ROLLER, TYPE C (04) - UNDERCARRIAGE
FIT
1:1
100%

Артикул

Название

Примечание

Количество

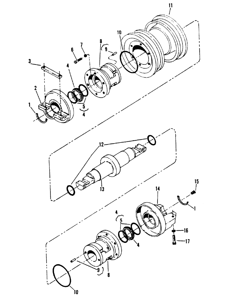
S507721

ROLLER

double flange track - (Includes items 1 thru 17)

1шт.

1

S89317

RING, LOCKING

RING, snap -, Serial Range: (Shaft-collars)

1шт.

2

S89309

COLLAR

inner

1шт.

3

S89310

LOCK

1шт.

4

S95098

SEAL

GROUP - (Includes item 5)

2шт.

5

S97896

RING

"O" RING

4шт.

6

26-618

BOLT,Hex, 3/8" - 16 x 1-1/8", Gr 8

CPSW - 318" NC x 1-1/8" gr 5

12шт.

7

192-21

LOCK WASHER,3/8"

WASHER, LOCK, 3/8"

12шт.

8

S89315

BUSHING

ASSEMBLY - (Includes item 9)

2шт.

9

S89318

PIN

4шт.

10

S89313

O-RING,0.139" Thk x 3.984" ID, -242, Cl 5, 75 Duro

SEAL

2шт.

11

S97793

RIM

1шт.

12

A14515

O-RING,0.139" Thk x 1.859" ID, -225, Cl 5, 75 Duro

"O" RING - 1.859" ID x 2.125" OD - (Collar to shaft)

2шт.

13

S89316

SHAFT

1шт.

14

S89314

COLLAR

outer

1шт.

15

S87854

PLUG

pipe - 3/4" - 16 male

1шт.

16

S97895

WASHER

4шт.

17

S97894

CAPSCREW

CPSW

4шт.

Выбрано товаров: 18