Запчасти Case 40BLC (126) - INNER BRAKE SWIVEL, (TRACK) (04) - UNDERCARRIAGE

Схема запчастей Case 40BLC - (126) - INNER BRAKE SWIVEL, (TRACK) (04) - UNDERCARRIAGE
FIT
1:1
100%

Артикул

Название

Примечание

Количество

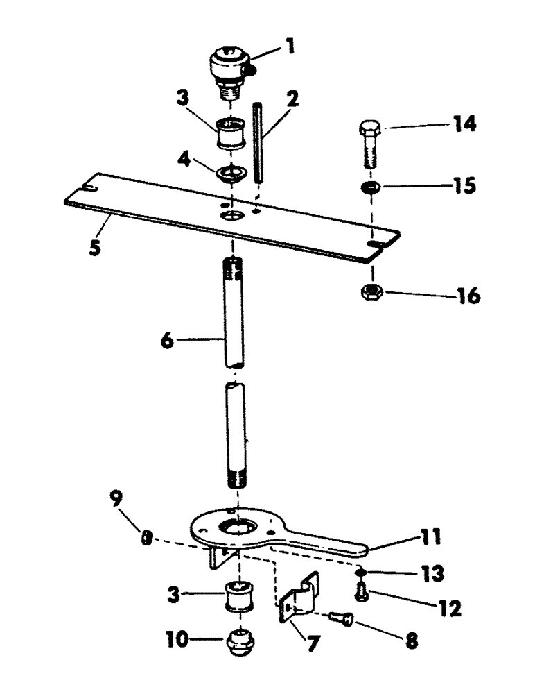
S39517

SWIVEL CONNECTION

SWIVEL, inner brake - (Consists of items 1 thru 10)

1шт.

1

SWIVEL, track brake service - (For breakdown, see page 131)

1шт.

2

PIN, roll - 5/16" x 4" long

2шт.

3

221-336

COUPLING,Pipe, 1/4" NPT

female Pipe, 1/4" NPT

2шт.

4

S71802

NYLON BEARING,0.756" ID x 1.187" OD x 0.375"

BEARING, nylon

1шт.

5

S209352

GUIDE

PLATE, guide - (Includes items 2 and 4)

1шт.

6

221-719

PIPE,Nipple, 1/4" NPT x 24 1/2"

NIPPLE - 1/4" NPT x 24-1/4" long

1шт.

7

A55980

CLAMP

1шт.

8

113-207

BOLT,Hex, 3/8" - 16 x 1", Gr 5

2шт.

9

131-52

NUT,3/8"-16, GC

NUT, self locking - 3/8" NC

2шт.

10

218-1022

HYD CONNECTOR,7/16"-20, 37 Degree x 1/4"-18, NPTF

ADAPTER - (1/4" tube) - 1/4" NPT male x 7/16" - 20 male - 37 degree flared

1шт.

11

S209353

PLATE

lower swivel mounting

1шт.

12

113-103

BOLT,Hex, 5/16" - 18 x 1", Gr 5

3шт.

13

192-20

LOCK WASHER,Helical Spring, 0.318" ID, CST, ZND

WASHER, LOCK, 5/16"

3шт.

14

192-208

CPSW - 3/8" NC x 1-1/4" gr 5

2шт.

15

195-103

WASHER,5/16"

flat - 3/8"

2шт.

16

131-52

NUT,3/8"-16, GC

NUT, self locking - 3/8" NC

2шт.

Выбрано товаров: 17