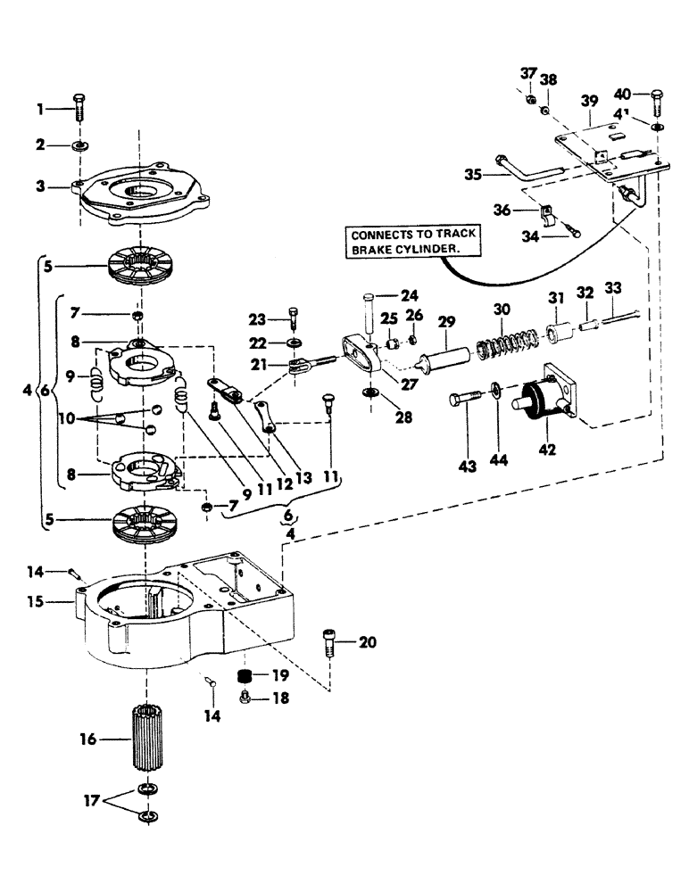
Запчасти Case 40BLC (138) - TRACK BRAKE (CONT.), (USED ON UNITS WITH SERIAL NUMBER 450 THRU 882) (04) - UNDERCARRIAGE

Схема запчастей Case 40BLC - (138) - TRACK BRAKE (CONT.), (USED ON UNITS WITH SERIAL NUMBER 450 THRU 882) (04) - UNDERCARRIAGE
FIT
1:1
100%

Артикул

Название

Примечание

Количество

S605281

BRAKE PACKAGE

BRAKE, track drive - complete (Consists of items 1 thru 41)

2шт.

1

113-147

CPSW, mounting flange - 1/2" NC x 1-1/4" gr 5

4шт.

2

192-23

LOCK WASHER,1/2"

WASHER, LOCK, 1/2"

4шт.

3

S507605

COVER

FLANGE, mounting

1шт.

4

S510342

BRAKE

DISC ASSEMBLY - (Includes items 5 thru 13) - (Supersedes S507606)

1шт.

5

S229281

DISC

middle

2шт.

6

S216242

CLUTCH DISC

ACTUATING DISC ASSEMBLY -(Includes items 7 thru 13)

1шт.

7

86637933

JAM NUT,5/16" - 24, Gr 5

2шт.

8

S68704

DISC

actuating

2шт.

9

S68705

SPRING

2шт.

10

S68703

BALL

- 3/4" diameter

3шт.

11

S105785

STUD

2шт.

12

S68706

LINK

yoke

1шт.

13

S68707

LINK

1шт.

14

S79912

RIVET

2шт.

15

S607619

HOUSING, brake

1шт.

16

S507607

COUPLING

splined

1шт.

17

R16289

SNAP RING,1.06", Int, #106

Ring, Snap, 1.06", Int, #106

2шт.

18

113-204

BOLT,Hex, 3/8" - 16 x 1/2", Gr 5, Full Thd

1шт.

19

S75334

GROMMET,5/16" ID x 3/4" Groove Dia

1шт.

20

165-138

HEX SOC SCREW,Prev Torque, 1/2" - 13 x 1 1/8"

CPSW, mounts housing to adapter - 1/2" NC x 1-1/8"

3шт.

21

S65002

FORK

YOKE

1шт.

22

192-21

LOCK WASHER,3/8"

WASHER, LOCK, 3/8"

1шт.

23

S66646

BOLT,5/16" x 3/4"

SCREW, shoulder

1шт.

24

S61970

PIN

clevis - 1/2" x 2.516" grip length

1шт.

25

S64911

NUT

ball - seat

1шт.

26

86585245

SPECIAL NUT,JAM, 5/8" - 18

jam - 3/8" NF

1шт.

27

S203385

LEVER

1шт.

28

195-33

WASHER,1/2"

flat - 1/2"

1шт.

29

S223207

SPRING

STOP, spring

1шт.

30

S85984

DISC

WASHER, spring

29шт.

31

S103738

PLUG

spring

1шт.

32

S103737

SPACER

spring

1шт.

33

123-3

BOLT,Hex, 1/4" - 20 x 1 3/4", Gr 5, Full Thd

CPSW - 1/4" NC x 1-3/4"

1шт.

34

113-3

BOLT,Hex, 1/4" - 20 x 3/4", Gr 5

1шт.

35

S228810

TUBE - (Includes bushing) 0.25" OD

1шт.

36

A38799

CLAMP

1шт.

37

7770

NUT,Hex, 1/4 - 20, Cl 5

1/4"-20, G5

1шт.

38

192-19

LOCK WASHER,Helical Spring, 0.256" ID, CST, ZND

WASHER, LOCK, 1/4"

1шт.

39

S210312

COVER

ASSEMBLY

1шт.

40

113-206

BOLT,Hex, 3/8" - 16 x 3/4", Gr 5, Full Thd

4шт.

41

192-21

LOCK WASHER,3/8"

WASHER, LOCK, 3/8"

4шт.

42

CYLINDER, brake - (For breakdown, see page 143)

1шт.

43

113-3

BOLT,Hex, 1/4" - 20 x 3/4", Gr 5

Mounts brake cylinder Hex, 1/4"-20 x 3/4", G5, Full Thd

2шт.

44

192-19

LOCK WASHER,Helical Spring, 0.256" ID, CST, ZND

WASHER, LOCK, 1/4"

2шт.

Выбрано товаров: 45