Запчасти Case 40BLC (088) - CROWD CONTROL AND LINKAGE (05) - UPPERSTRUCTURE CHASSIS

Схема запчастей Case 40BLC - (088) - CROWD CONTROL AND LINKAGE (05) - UPPERSTRUCTURE CHASSIS
FIT
1:1
100%

Артикул

Название

Примечание

Количество

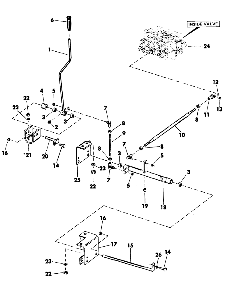
1

S513024

HANDLE, crowd control - (Includes item 2) - (Supersedes S506214)

1шт.

Change in listing

1шт.

2

219-43

LUBE NIPPLE,65 Degree Elbow, 1/4" - 28 NPTF

FITTING, grease - 1/4" NPT x 65 degrees

1шт.

3

A30586

NEEDLE BEARING

BEARING, needle

4шт.

4

S87490

SPACER

1шт.

5

231-2446

NUT,3/8"-24, GB

NUT, self locking - 3/8" NF

3шт.

6

S63411

HANDLE

GRIP, handle

1шт.

7

S215594

BALL

JOINT, ball

3шт.

8

86585245

SPECIAL NUT,JAM, 5/8" - 18

jam - 3/8" NF

4шт.

9

S91683

ROD

connecting

1шт.

10

S219275

ROD

connecting

1шт.

11

213-4

ADJUSTABLE CLEVIS,3/8"-24 x 2 1/2"

YOKE

1шт.

12

132-67

COTTER PIN,5/32" x 3/4"

Pin, Split (Cotter), 5/32" x 3/4"

1шт.

13

S10768

PIN

clevis - 3/8" x 1.016" grip length

1шт.

14

113-17

BOLT,Hex, 1/4" - 20 x 1-1/4", Gr 5

2шт.

15

S218961

SHAFT ASSY.

SHAFT

1шт.

16

86625061

NUT,1/4"-20, GB

NUT, self locking - 1/4" NC

2шт.

17

S221103

BRACKET

1шт.

18

S220214

BELLCRANK - (Includes item 19)

1шт.

19

219-8

LUBE NIPPLE,1/4" - 28 NPTF

NIPPLE, LUBE, 1/4"-28 NPT x .54" lg

1шт.

20

S217833

SHAFT ASSY.

SHAFT

1шт.

21

S220629

SUPPORT

ASSEMBLY - (Supersedes S219073)

1шт.

22

131-70

NUT,1/2"-13, GB

NUT, self locking - 1/2" NC

6шт.

23

95-8

WASHER,1/2"

flat, NC 1/2"

6шт.

24

VALVE, 4-spool main control - (For breakdown, see page 258)

1шт.

25

S218940

BRACKET

1шт.

26

195-41

WASHER,5/8"

1шт.

Выбрано товаров: 27