Запчасти Case 40BLC (270) - ENGINE WIRING HARNESS FOR: CASE 504BD DIESEL ENGINE (06) - ELECTRICAL SYSTEMS

Схема запчастей Case 40BLC - (270) - ENGINE WIRING HARNESS FOR: CASE 504BD DIESEL ENGINE (06) - ELECTRICAL SYSTEMS
FIT
1:1
100%

Артикул

Название

Примечание

Количество

1

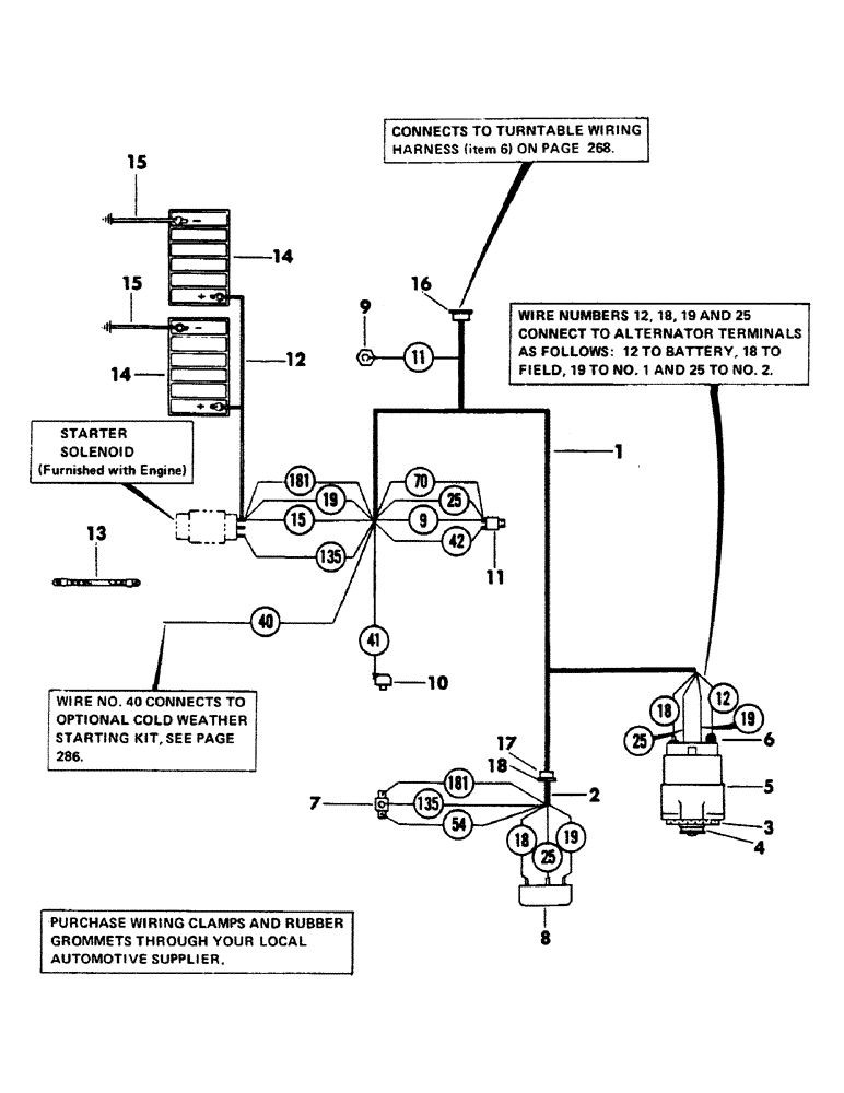
S602559

WIRING HARNESS, engine - (Includes items 16 and 17)

1шт.

2

S220887

HARNESS

WIRING HARNESS, engine components - (Includes item 18)

1шт.

3

S32921

FAN

alternator

1шт.

4

S219716

PULLEY

alternator

1шт.

5

S84908

ALTERNATOR

- 12 volt

1шт.

5

87297244

REMAN-ALTERNATOR

Remanufactured ALTERNATOR, 12 volt, 61 ampere, N.A. Only

1шт.

87297245

CORE-ALTERNATOR

Return Number, ALTERNATOR, N.A. Only

1шт.

6

S64612

BOOT

rubber

1шт.

7

S26663

SOLENOID

RELAY

1шт.

113-3

BOLT,Hex, 1/4" - 20 x 3/4", Gr 5

2шт.

86625061

NUT,1/4"-20, GB

NUT, self locking - 1/4" NC

2шт.

8

S62714

REGULATOR

voltage

1шт.

75-412

SCREW,Rd, 1/4" x 3/4"

machine - 1/4" NC x 3/4" gr

5шт.

86625061

NUT,1/4"-20, GB

NUT - 1/4" NC

2шт.

9

S27825

TEMPERATURE SENDER

SENDING UNIT, engine temperature

1шт.

10

S27826

SENDER UNIT

SENDING UNIT, engine oil pressure

1шт.

11

S63884

SWITCH

pressure - (For warning light)

1шт.

12

S217866

CABLE

, Serial Range: battery-starter

1шт.

13

S228983

STRAP

ground - (Supersedes S81455)

2шт.

Change in listing

1шт.

195-103

WASHER,5/16"

flat - 1/2"

2шт.

131-70

NUT,1/2"-13, GB

NUT - 1/2" NC

2шт.

14

H129858

DRY BATTERY

- (Dry)

2шт.

15

A36368

STRAP

CABLE, battery ground

2шт.

195-103

WASHER,5/16"

- 1/2"

2шт.

131-52

NUT,3/8"-16, GC

NUT - 3/8" NC

2шт.

16

223-170

CONNECTOR, ELEC

CONNECTOR, plastic electrical - (Female) - (6 contacts) - (Used with wire no's 9, 12, 41 and 70)

1шт.

223-172

CONNECTOR, ELEC

CONNECTOR, plastic electrical - (Female) - (8 contacts) - (Used with wire no's 11, 15, 40 and 54)

1шт.

17

223-162

CONNECTOR, ELEC

CONNECTOR, plastic electrical - (Male) - (8 contacts) - (Used with wire no's 18, 19, 24, 54, 135 and 181)

1шт.

18

223-172

CONNECTOR, ELEC

CONNECTOR, plastic electrical - (Female) - (8 contacts) - (Used with wire no's 18, 19, 25, 54, 135 and 181)

1шт.

223-159

CONNECTOR, plastic electrical - (Male) - (4 contacts) - (Used with wire no's 18, 19 and 25)

1шт.

S605065

SCHEMATIC, electrical

1шт.

Выбрано товаров: 32