Запчасти Case 40BLC (272) - DIESEL 4-71 ENGINE (06) - ELECTRICAL SYSTEMS

Схема запчастей Case 40BLC - (272) - DIESEL 4-71 ENGINE (06) - ELECTRICAL SYSTEMS
FIT
1:1
100%

Артикул

Название

Примечание

Количество

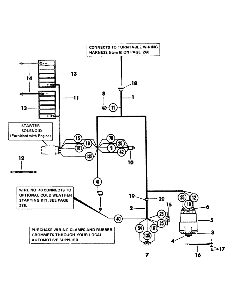
1

S602566

SPARE PART WIRING HARNESS, engine - (Includes items 18 and 19)

1шт.

2

S220501

SPARE PART WIRING HARNESS, engine components - (Includes item 20)

1шт.

3

S32921

FAN

FAN, alternator

1шт.

4

S63928

PULLEY, alternator

1шт.

5

S512794

ALTERNATOR

ALTERNATOR - 12 vol - (Supersedes S602078)

1шт.

Change in listing

1шт.

5

87297298

REMAN-ALTERNATOR

Remanufactured Alternator

1шт.

5

87297299

CORE-ALTERNATOR

Return Number\r\n, Alternator

1шт.

5

103804A1GV

ALTERNATOR

Value, 12V, 72A

1шт.

5

103804A1R

REMAN-ALTERNATOR

Reman for New PN S512794

1шт.

5

103804A1C

CORE-ALTERNATOR

Return Number

1шт.

5

ZAP804A1R

REMAN-ALTERNATOR

Remanufactured 12 VOLT, 100 AMP Alternator (Higher Amp version of 72 amp 103804A1R)

1шт.

5

103804A1C

CORE-ALTERNATOR

Return Number

1шт.

6

S64612

BOOT

BOOT, rubber

1шт.

7

S26663

SOLENOID

RELAY

1шт.

113-3

BOLT,Hex, 1/4" - 20 x 3/4", Gr 5

CPSW , flat head machine - 1/4" NC x 3/4" gr 5

2шт.

86625061

NUT,1/4"-20, GB

NUT - 1/4" NC

2шт.

8

S27825

TEMPERATURE SENDER

SENDING UNIT, engine temperature

1шт.

9

S27826

SENDER UNIT

SENDER SENDING UNIT, engine oil pressure

1шт.

10

S63884

SWITCH

SWITCH, pressure - for warning light

1шт.

11

S217866

CABLE

CABLE, Serial Range: battery-starter

1шт.

12

S228983

STRAP

STRAP, ground - (Supersedes S81455)

2шт.

Change in listing

1шт.

195-103

WASHER,5/16"

WASHER, flat - 1/2"

2шт.

13

H129858

DRY BATTERY

BATTERY - (Dry)

2шт.

14

A36368

STRAP

CABLE, battery ground

2шт.

195-103

WASHER,5/16"

WASHER, flat - 1/2"

2шт.

131-52

NUT,3/8"-16, GC

NUT - 3/8" NC

2шт.

15

F22316

RESISTOR,75 Ohms 0.2 Amps DC

RESISTOR

1шт.

75-412

SCREW,Rd, 1/4" x 3/4"

SCREW, machine - 1/4" NC x 3/4" gr 5

1шт.

195-101

WASHER,3/16"

WASHER, flat - 1/4"

1шт.

86625061

NUT,1/4"-20, GB

NUT, self-locking - 1/4" NC

1шт.

16

S207868

SPARE PART WIRE, jumper - 10 gauge wire x 8" long - (Ground)

1шт.

17

14-2044

SPARE PART CPSW - 5/16" NC x 1/2" gr 5 - (Ground, Serial Range: wire-engine)

1шт.

192-20

LOCK WASHER,Helical Spring, 0.318" ID, CST, ZND

WASHER, LOCK, 5/16"

1шт.

18

223-170

CONNECTOR, ELEC

CONNECTOR CONNECTOR, plastic electrical - (Female) - (6 contacts) - (Used with wire no's 9, 12, 41 and 70)

1шт.

223-172

CONNECTOR, ELEC

CONNECTOR CONNECTOR, plastic electrical - (Female) - (8 contacts) - (Used with wire no's 11,15, 40 and 54)

1шт.

19

223-162

CONNECTOR, ELEC

CONNECTOR CONNECTOR, plastic electrical - (Male) - (8 contacts) - (Used with wire no's 25, 25, 40, 54, 82, 135 and 181)

1шт.

20

223-172

CONNECTOR, ELEC

CONNECTOR CONNECTOR, plastic electrical - (Female) - (8 contacts) - (Used with wire no's 25, 25, 40, 54, 82, 135 and 181)

1шт.

223-155

ELEC CONNECTOR,Female, 1 Pin

CONNECTOR, plastic electrical - (Male) - (1 contact) - (Used with wire no's 25 and 25)

2шт.

S605065

SPARE PART SCHEMATIC, electrical

1шт.

Выбрано товаров: 41